EasyManua.ls Logo

Nussbaum Sprinter NT - Selection of Dowels

Nussbaum Sprinter NT
40 pages
Print Icon
To Next Page IconTo Next Page
To Next Page IconTo Next Page
To Previous Page IconTo Previous Page
To Previous Page IconTo Previous Page
Loading...
Operating Instruction and Documentation
Sprinter NT
- 29 -
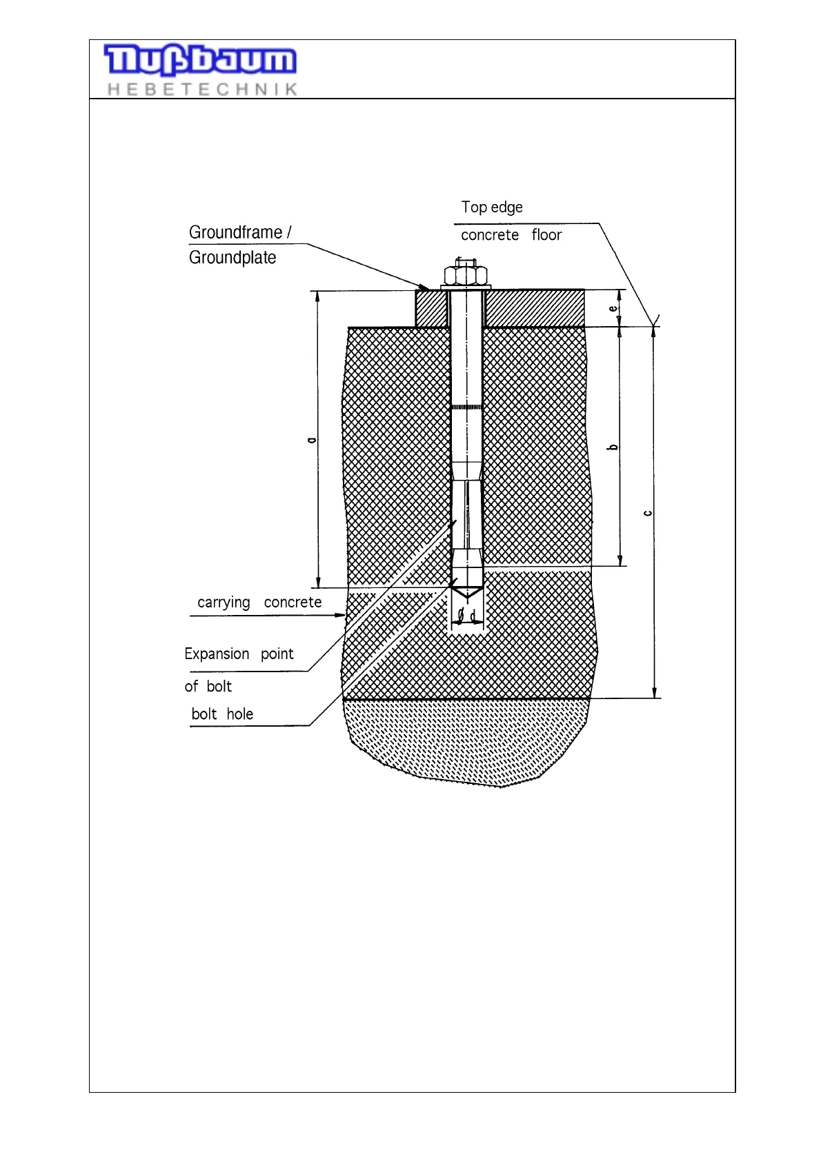
Pic. 17: choice of the dowel length without floor pavement or tile surface
Table to pic. 17
Liebig-dowels
Dowel type B15/75 B15/95
Drilling depth a 112 112
Min. anchorage depth b 72 72
Thickness of concrete c 160 160
Diameter of bore d 15 15
Thickness of the lift-pieces e 0-40 40-65
Number of dowels 8 8
Starting torque according to dowel manufacturer

Related product manuals