EasyManua.ls Logo

Oliver 709 - Lubrication; Cleaning

Oliver 709
41 pages
Print Icon
To Next Page IconTo Next Page
To Next Page IconTo Next Page
To Previous Page IconTo Previous Page
To Previous Page IconTo Previous Page
Loading...
MODEL 709 MINI SUPREME BREAD SLICER
0709S20030-4
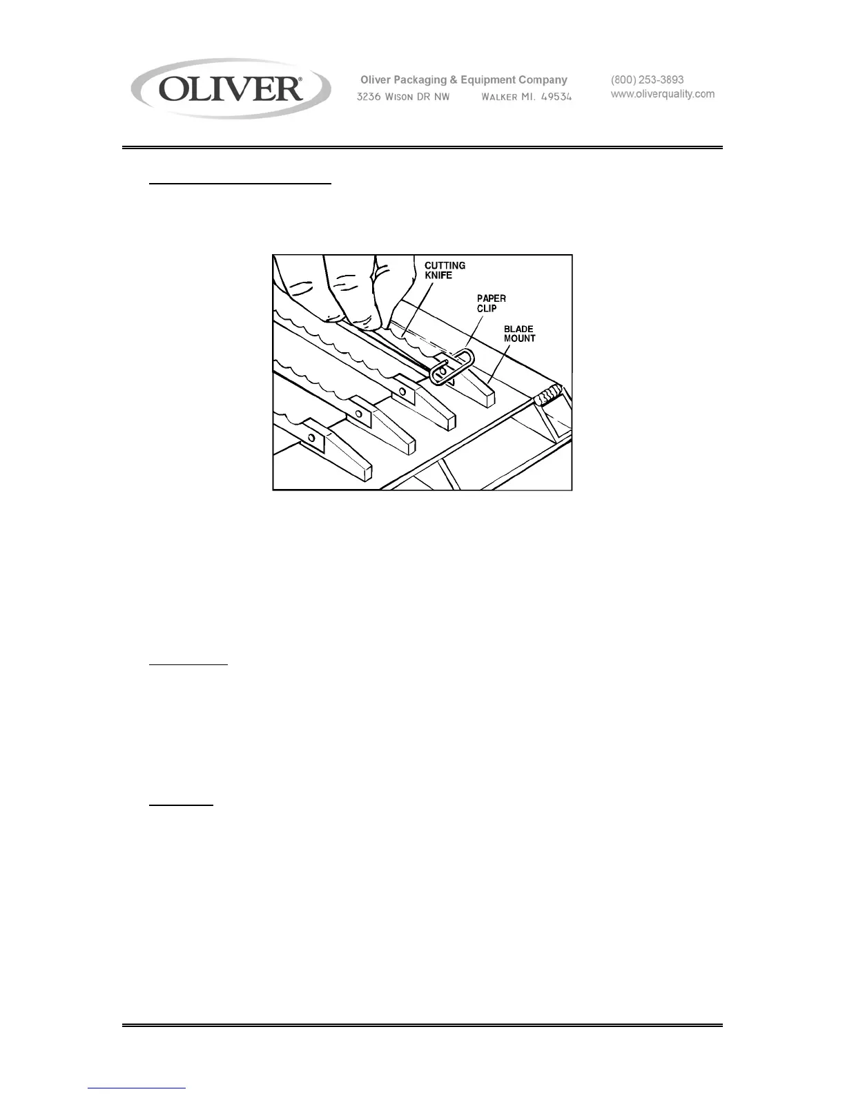
Changing Blades (Cont’d.):
Reverse the procedure to install replacement blades. A paper clip can be used to hold
the blade in position on the fixed blade mount during blade installation. (See Illustration)
The blades can be removed and replaced from the lower blade frame while it is in the
machine. Use the same tool and similar procedures as described in removing an
replacing blades from the upper blade frame.
Upon completion of the blade changes re-install and secure all parts removed, (refer to
the blade frame removal section above).
Lubrication:
The blade frame tracks, the four shoulder screws at the links connecting the blade frame
and the rocker and the cradle guide tracks have been lubricated at the factory. Twice a
year, or, sooner if they become dry, the above areas should be greased with a food
approved grease.
Cleaning:
Use a mild detergent solution to clean the exterior and contact surfaces. Empty the
crumb tray daily or as necessary. Periodically remove all covers and brush, vacuum or
blow, (if compressed air is available), all foreign material from all surfaces, especially the
moving parts.

Related product manuals