EasyManua.ls Logo

Olympus C-5000Zoom - For Other OS Users

Olympus C-5000Zoom
48 pages
Print Icon
To Next Page IconTo Next Page
To Next Page IconTo Next Page
To Previous Page IconTo Previous Page
To Previous Page IconTo Previous Page
Loading...
42 En
En
QuickTime is needed for playing back movies. QuickTime is
included on the provided software CD.
If you want to process images, make sure to download them to your
computer first. Depending on the software, image files may be
destroyed if the images are processed (rotated, etc.) while they are
on the card.
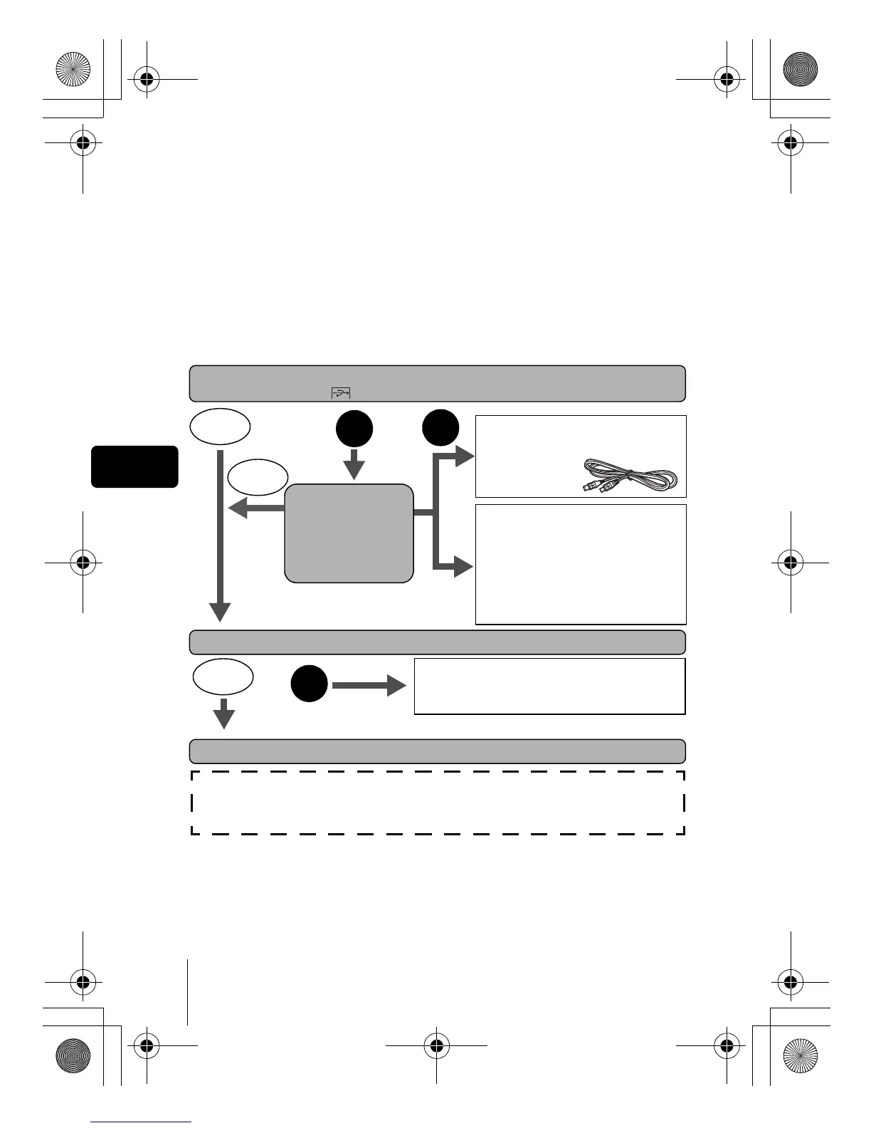
J FOR OTHER OS USERS
Users running other OS cannot use the provided USB cable to connect the
camera directly to a computer.
Windows 95 Windows NT Mac OS before OS 9
You can download images directly to your computer using a PC card adapter.
Connect the camera directly to
your computer using the
provided USB
cable.
Does your computer have a USB interface?
Is there a port marked on your computer?
Does your computer have a built-in PC card slot?
Consult your nearest Olympus representative.
Is your OS one of
the following?
Windows 98
Windows 2000
Windows Me
Windows XP
•Mac OS 9/X
Yes
No
No
Yes
Use the optional USB reader/
writer.
*Certain card readers may not
be compatible with Mac OS X.
Check the Olympus website for
the most up-to-date compatibility
information.
Use the optional PC card adapter.
*Not supported by Windows NT4.0 or lower.
No
Yes
For more details, refer to the “Reference Manual” on CD-ROM.
For connection to the PC, refer to the “Software Installation Guide”
included in the CD-ROM package.
basic_e_x193_6.fm Page 42 Wednesday, July 9, 2003 12:50 PM

Related product manuals