EasyManua.ls Logo

Omron CJ1M-CPU series - Replacement of the Entire Program During Operation

Omron CJ1M-CPU series
383 pages
Print Icon
To Next Page IconTo Next Page
To Next Page IconTo Next Page
To Previous Page IconTo Previous Page
To Previous Page IconTo Previous Page
Loading...
208
Manipulating Files Section 5-2
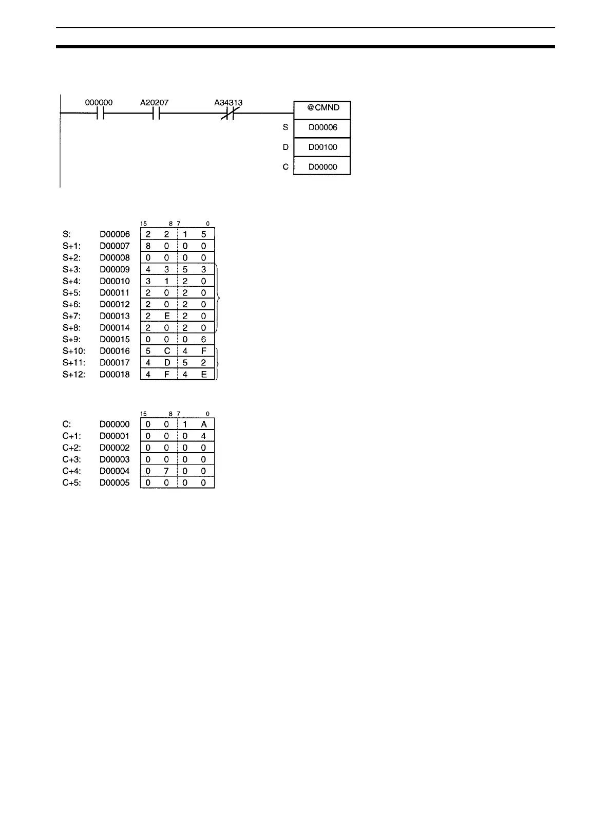
The following example shows how to use CMND(490) to create a subdirectory
in the Memory Card.
Note There are other FINS commands that can be sent to the local PLC in addition
to the ones related to file memory operations that are listed in the table above.
The File Memory Operation Flag must be used to prevent simultaneous exe-
cution of these other FINS commands, too.
5-2-4 Replacement of the Entire Program During Operation
(Not supported by CS-series CS1 CPU Units that are pre-EV1)
The entire program can be replaced during operation (RUN or MONITOR
mode) by turning ON the Replacement Start Bit (A65015). The specified file
will be read from the Memory Card and it will replace that program will replace
the executable program at the end of the current cycle. The replacement Pro-
gram Password (A651) and Program File Name (A654 to A657) must be
Network Instruction
Enabled Flag
(for port 7)
File Memory
Operation Flag
When 000000 and A20207 are ON and A34313 is
OFF, CMND(490) issues FINS command 2215
(CREATE/DELETE SUBDIRECTORY) is sent to
the local CPU Unit and the response is stored in
D00100 and D00101.
In this case, the FINS command creates a subdi-
rectory named "CS1" within the OMRON" directory
in the CPU Unit's Memory Card. The response is
composed of the 2-byte command code (2215) and
the 2-byte response code.
Command code: 2215 Hex (CREATE/DELETE SUBDIRECTORY)
Disk number: 8000 Hex (Memory Card)
Parameter: 0000 Hex (Create subdirectory.)
Subdirectory name: CS1@@@@@.@@@
(@: a space)
Directory length: 0006 Hex (6 characters)
Directory path: \OMRON
Number of bytes of command data: 001A Hex (26 bytes)
Number of bytes of response data: 0004 Hex (4 bytes)
Destination address: 0000 Hex (local network)
00 Hex (local node) and 00 Hex (CPU Unit)
Response requested, communications port 7, 0 retries
Response monitor time: FFFF Hex (6,553.5 s)

Table of Contents

Other manuals for Omron CJ1M-CPU series

Related product manuals