EasyManua.ls Logo

Omron NB10W-TW01B - Page 102

Omron NB10W-TW01B
214 pages
Print Icon
To Next Page IconTo Next Page
To Next Page IconTo Next Page
To Previous Page IconTo Previous Page
To Previous Page IconTo Previous Page
Loading...
3 Connecting to Mitsubishi PLCs
3-36
NB-series Programmable Terminals Host Connection Manual (V108)
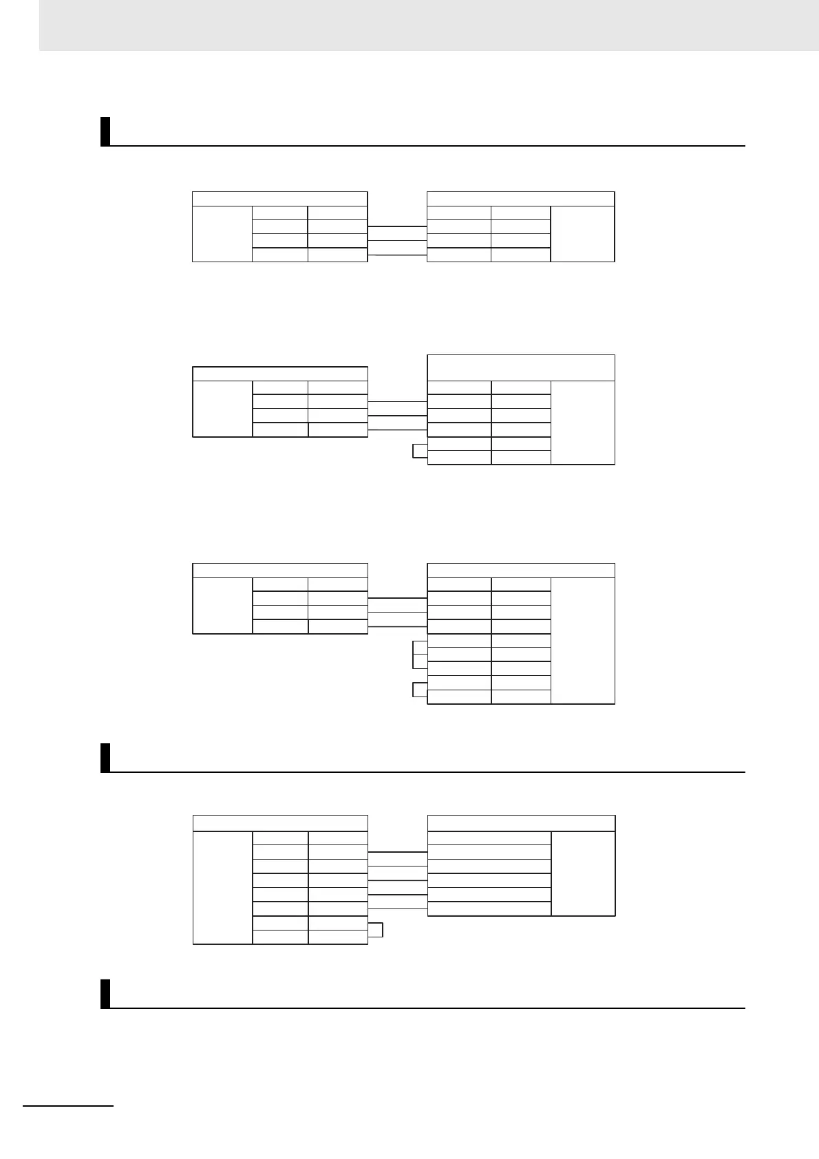
Communication Cable for CPU Port (Except Q00UJ CPU and L02S CPU)
Communication Cable for CPU Port (Q00UJ CPU and L02S CPU)
For the communication with the PT, use RS-232 cable (QC30R2) to connect the PC - sequencer
CPU manufactured by Mitsubishi Electric.
RS232 communication cable for C24 Serial Communication Module
RS422 Communication Cable for C24 Serial Communication Module
Use Twisted Pair Cable to connect. Refer to Ethernet communication specifications in A-1-3
Communication Specifications in the NB-series Programmable Terminals Setup Manual (Cat. No.
V107).
Q Series RS232 Communication Cable
Q-Series RS485/422 Communication Cable
Ethernet Communication Cable
SG
PT (COM1/COM2)
Pin No.
2
3
9
Signal
SD
RD
SG
D-Sub
9Pin
(Female)
PLC
Pin No.
1
2
3
Signa l
RXD
TXD
6Pin Mini
DIN
(Female)
PT (COM1/COM2)
Pin No.
2
3
9
Signal
SD
RD
SG
D-Sub
9Pin
(Female)
programming cable for
Mitsubishi Q series PLC
Pin No.
3
2
5
Signa l
RD
SD
SG
D-Sub
9Pin
(Female)
4
6
DR
ER
PT (COM1/COM2)
Pin No.
2
3
9
Signal
SD
RD
SG
D-Sub
9Pin
(Female)
C24 serial communication module
Pin No.
2
3
5
Signa l
RXD
TXD
SG
D-Sub
9Pin
(Female)
1
4
6
7
CD
DTR
DSR
RTS
8 CTS
D-Sub
9Pin
(Female)
PT (COM2)
Pin No.
1
6
7
Signal
SDB+
RDB+
SDA-
C24 serial communication module
Signal
RDA
SDA
RDB
RS-422
connector
8
9
RDA-
SG
SDB
SG
4
5
Terminal R1
Terminal R2

Table of Contents

Other manuals for Omron NB10W-TW01B

Related product manuals