EasyManua.ls Logo

Oriental motor BLHD100K - Installing Loads on Hollow Shaft Gearheads

Oriental motor BLHD100K
52 pages
To Next Page IconTo Next Page
To Next Page IconTo Next Page
To Previous Page IconTo Previous Page
To Previous Page IconTo Previous Page
Loading...
5 Installation
22
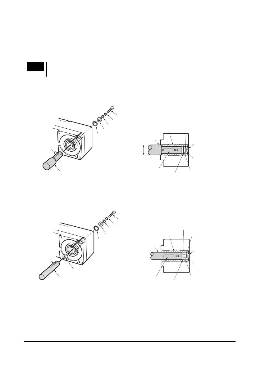
5.7 Installing a load on the combination type hollow
shaft flat gearhead
If the motor receives a significant impact upon instantaneous stop or is subject to a
large overhung load, affix the stepped load shaft.
Note
Apply grease (molybdenum disulfide grease, etc.) on the surface of the load
shaft and inner walls of the hollow output shaft to prevent seizure.
Stepped load shaft
Install each hexagonal socket head screw over a retaining ring, spacer, washer and
spring washer and securely affix the ring.
Stepped load shaft
ØD
Retaining ring
Hollow output shaft
Hexagonal socket
head screw
Spring washer
Washer
Spacer
Parallel key
Load shaft
Washer
Spacer
Retaining ring
Spring washer
Hexagonal socket head screw
Parallel
key
Non-stepped load shaft
Install each hexagonal socket head screw over a retaining ring, spacer, washer and
spring washer and securely affix the ring. Also, insert a spacer on the load shaft side.
Spacer
Retaining ring
Hollow output shaft
Hexagonal socket
head screw
Spring washer
Washer
Spacer
Parallel key
Load shaft
Washer
Spacer
Retaining ring
Spring washer
Hexagonal socket head screw
Spacer
Load shaft
Parallel
key

Related product manuals