EasyManua.ls Logo

PACOM PDRH-8-RT - Chapter 3 - Configuration; Front Panel Controls; Figure 3 - 16-Channel DVR Front Panel

PACOM PDRH-8-RT
78 pages
Print Icon
To Next Page IconTo Next Page
To Next Page IconTo Next Page
To Previous Page IconTo Previous Page
To Previous Page IconTo Previous Page
Loading...
Digital Video Recorder
7
Chapter 3 — Configuration
NOTE: Your DVR should be completely installed before proceeding. Refer to Chapter 2 — Installation.
Front Panel Controls
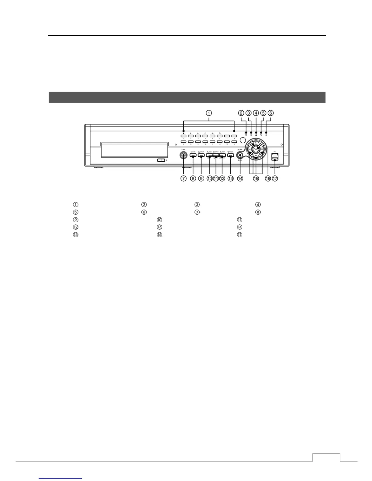
Figure 3 — 16-Channel DVR front panel.
Camera Buttons HDD LED Alarm Out LED Network LED
Clip Copy LED Power LED Panic Button Alarm Button
Clip Copy Button Zoom/PTZ Button Display/SPOT Button
Group/Sequence Button Playback Mode Button Menu/Cameo Button
Arrow Buttons Play/Pause Button USB Connector
The front panel looks and operates much like a VCR combined with a multiplexer. Many of the buttons have multiple
functions. The buttons on the infrared remote control, while laid out differently, perform the same functions as those
on the front panel. The following describes each button and control. Take a few minutes to review the descriptions.
You will use these to initially set up your DVR and for daily operations.
NOTE: The infrared sensor on the DVR is just to the right of the camera buttons. Make certain that nothing
blocks the sensor, or the remote control will not function properly.
You can also use a USB mouse (not supplied) to navigate through the screens and menus much like
you would on a computer.

Table of Contents

Related product manuals