EasyManua.ls Logo

Panasonic DVD-RV31

Panasonic DVD-RV31
86 pages
To Next Page IconTo Next Page
To Next Page IconTo Next Page
To Previous Page IconTo Previous Page
To Previous Page IconTo Previous Page
Loading...
5 Disassembling the Casing and Checking P.C.B.s
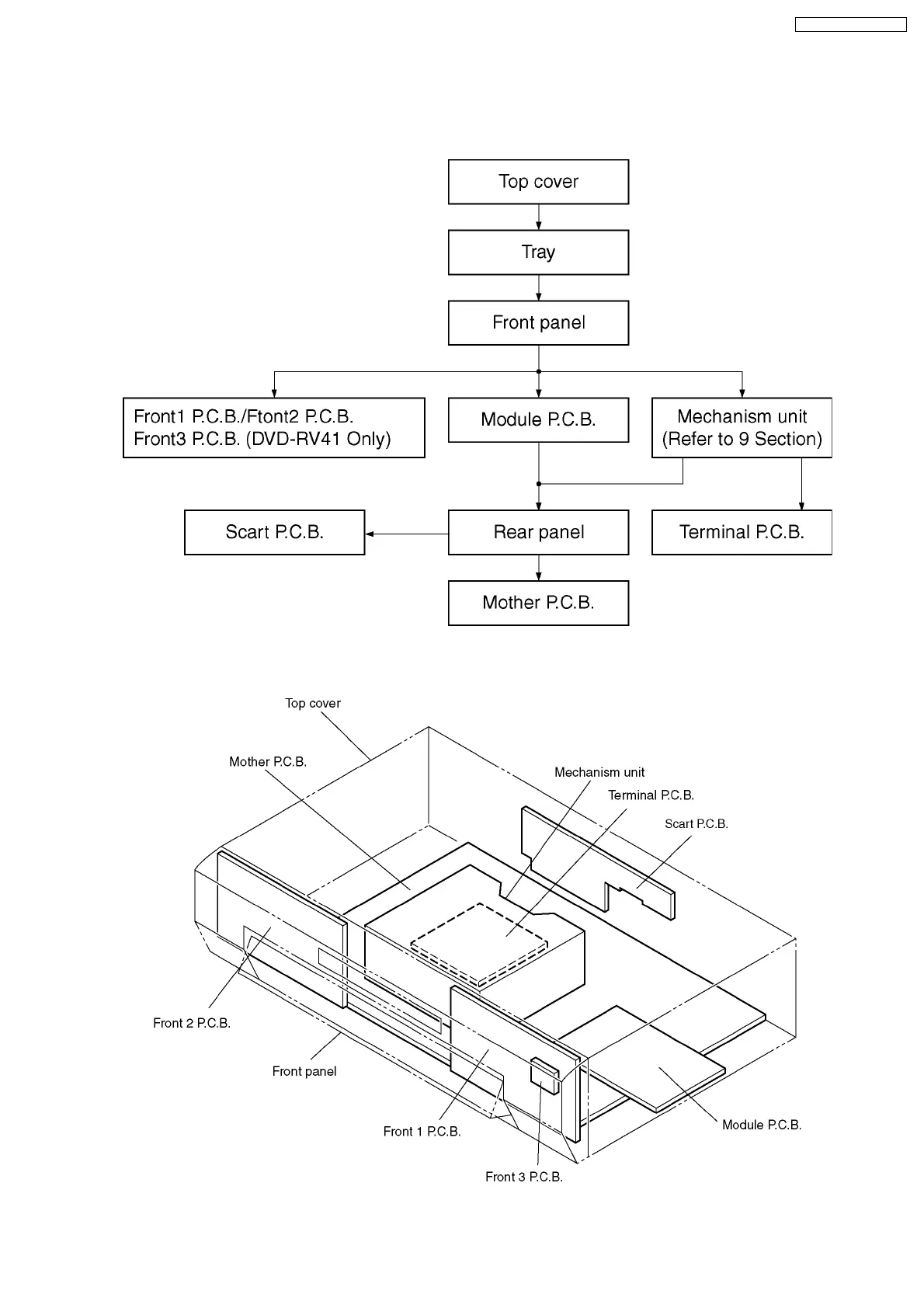
5.1. Dissasembly Procedure
5.2. Caseing Parts and P.C.B. Positions
7
DVD-RV31 / DVD-RV41

Table of Contents

Other manuals for Panasonic DVD-RV31

Related product manuals