EasyManua.ls Logo

Panasonic KX-TDE100

Panasonic KX-TDE100
254 pages
To Next Page IconTo Next Page
To Next Page IconTo Next Page
To Previous Page IconTo Previous Page
To Previous Page IconTo Previous Page
Loading...
1.10.4 If a Host PBX is Connected
Accessing External Services (External Feature Access [EFA])
Accessing External Services (External Feature Access [EFA])
You can access special features
(e.g., Call Waiting) offered by a host PBX or telephone company. This feature
is only effective for an outside call.
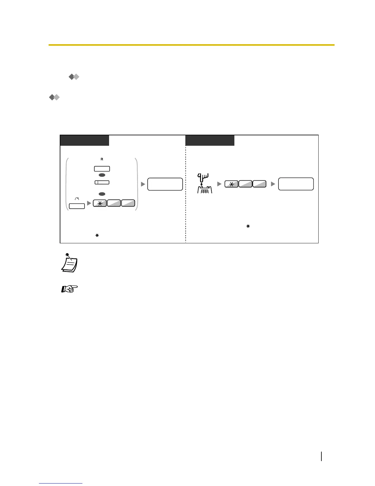
<Example> To hold the current call and then talk to the new party
PT/PS SLT
Enter desired
service code.
desired service
code
Enter desired
service code.
Press Recall/
hookswitch.
Press FLASH/RECALL or EFA.
Or press TRANSFER and
then enter 60.
While hearing a tone While hearing a tone
Enter 60.
OR
OR
(EFA)
FLASH/
RECALL
6 0
TRANSFER
desired service
code
6 0
In this case, the FLASH/RECALL button on a proprietary telephone must be set to External
Feature Access (EFA) mode through system programming.
Customising Your Phone
3.1.3 Customising the Buttons
Create or edit an External Feature Access (EFA) button.
User Manual 155
1.10.4 If a Host PBX is Connected

Table of Contents

Other manuals for Panasonic KX-TDE100

Related product manuals