EasyManua.ls Logo

Panasonic KX-TDE100

Panasonic KX-TDE100
254 pages
To Next Page IconTo Next Page
To Next Page IconTo Next Page
To Previous Page IconTo Previous Page
To Previous Page IconTo Previous Page
Loading...
Answering Call Waiting from the Telephone Company
This is an optional telephone
company service. You can receive a call waiting tone and the caller’s information.
For details, consult your telephone company.
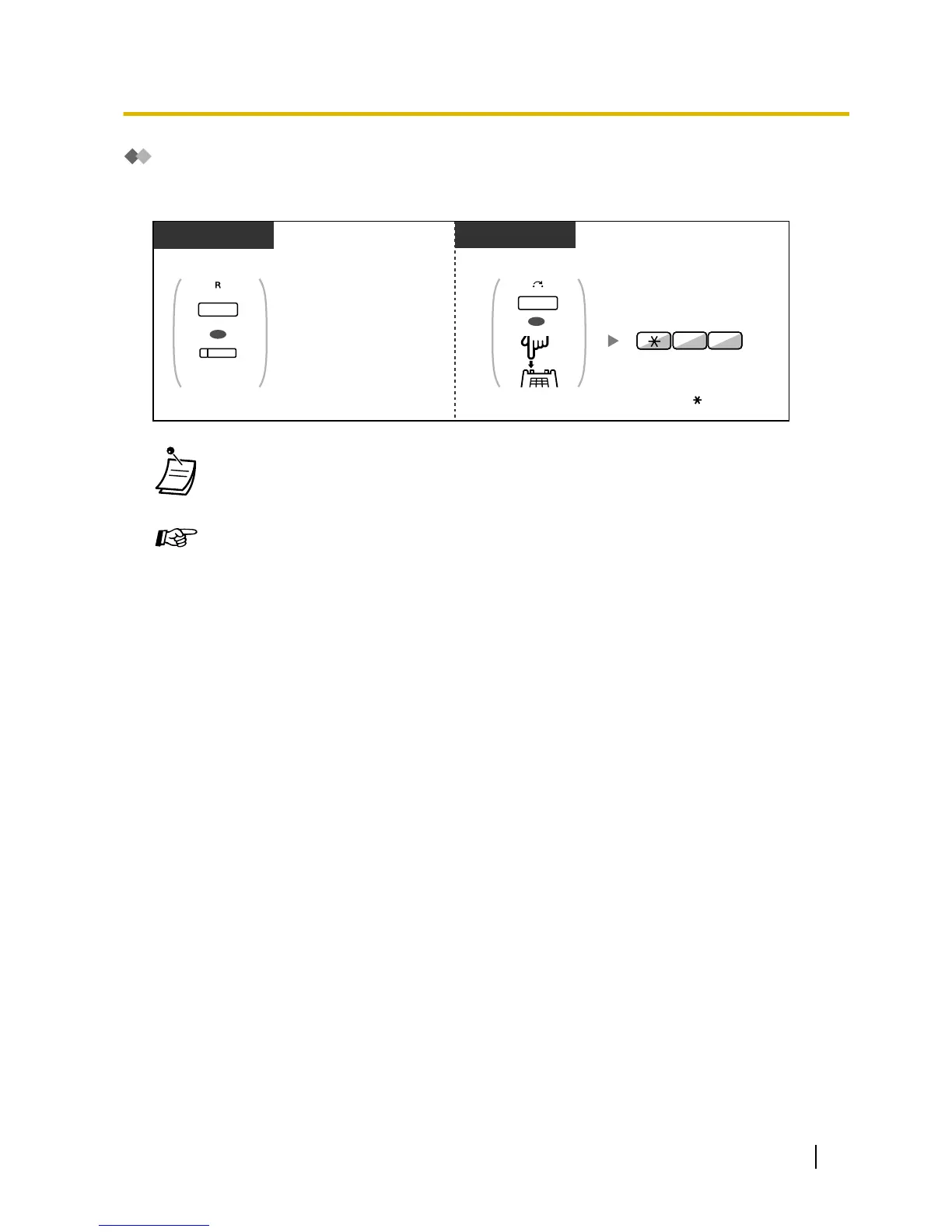
While hearing a tone
PT/PS
While hearing a tone
PT/SLT/PS
Press FLASH/RECALL
or EFA.
Enter 60.
6 0
Press TRANSFER
or Recall/hookswitch.
OR
OR
TRANSFE R
FLASH/
RECALL
OR
(EFA)
To return to the original party, repeat the operation.
In this case, the FLASH/RECALL button on proprietary telephones must be set to External
Feature Access (EFA) mode through system programming.
Customising Your Phone
3.1.3 Customising the Buttons
Create or edit an External Feature Access (EFA) button.
User Manual 79
1.4.4 Answering Call Waiting

Table of Contents

Other manuals for Panasonic KX-TDE100

Related product manuals