EasyManua.ls Logo

Panasonic SA-PMX70 - Disassembly of Inner Chassis

Panasonic SA-PMX70
65 pages
Print Icon
To Next Page IconTo Next Page
To Next Page IconTo Next Page
To Previous Page IconTo Previous Page
To Previous Page IconTo Previous Page
Loading...
29
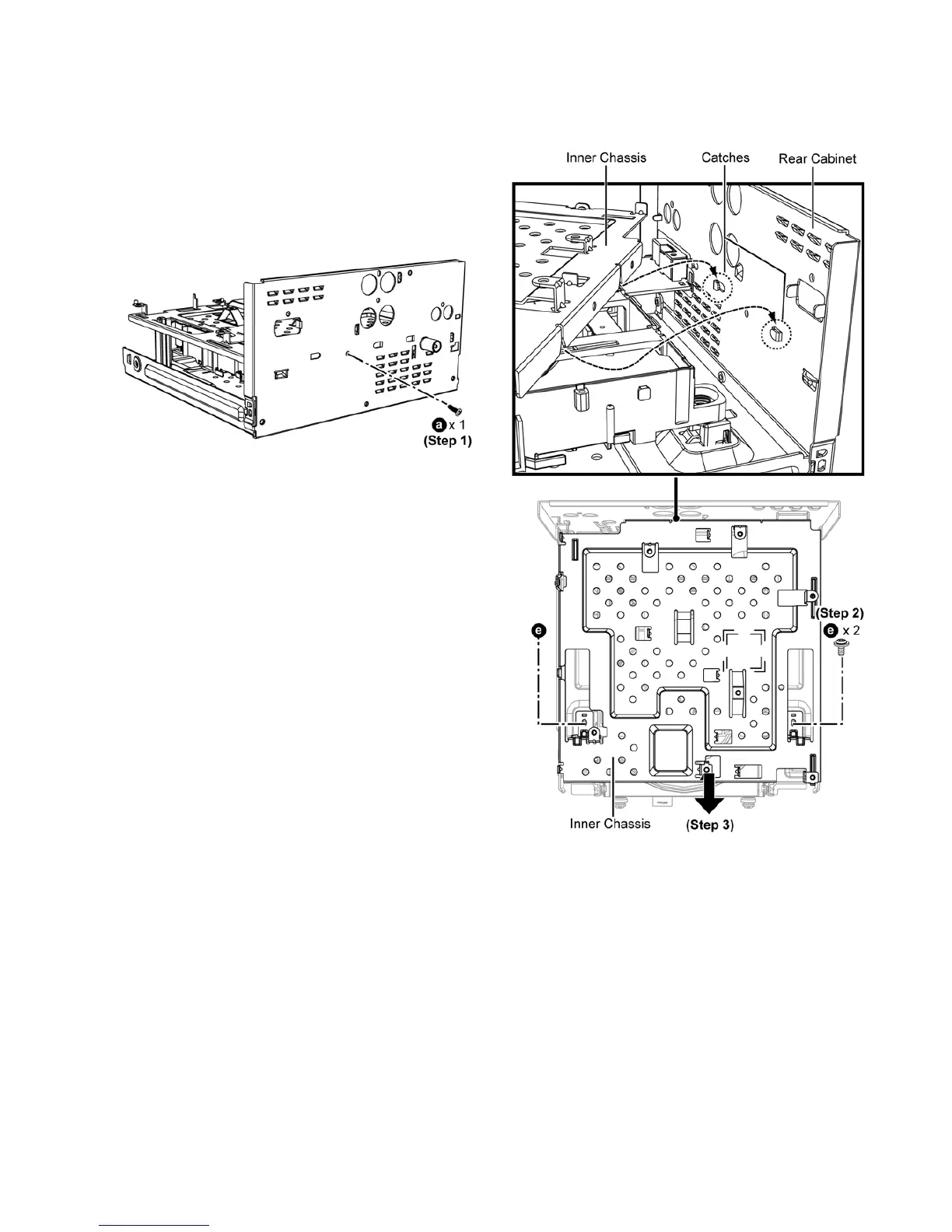
8.13. Disassembly of Inner Chassis
Refer to “Disassembly of Top Cabinet”
Refer to “Disassembly of Front Panel Unit”
Refer to “Disassembly of SMPS P.C.B.”
Refer to “Disassembly of Main P.C.B.”
Step 1 : Remove screw.
Step 2 : Remove 2 screws.
Step 3 : Lift up to release Inner Chassis from Rear Cabinet.
Caution : During assembling, ensure the Inner Chassis is
fully inserted & properly seated onto the catches

Table of Contents

Related product manuals