EasyManua.ls Logo

Panasonic SA-PMX84EG - Sub-assembly and PCB Disassembly

Panasonic SA-PMX84EG
79 pages
Print Icon
To Next Page IconTo Next Page
To Next Page IconTo Next Page
To Previous Page IconTo Previous Page
To Previous Page IconTo Previous Page
Loading...
31
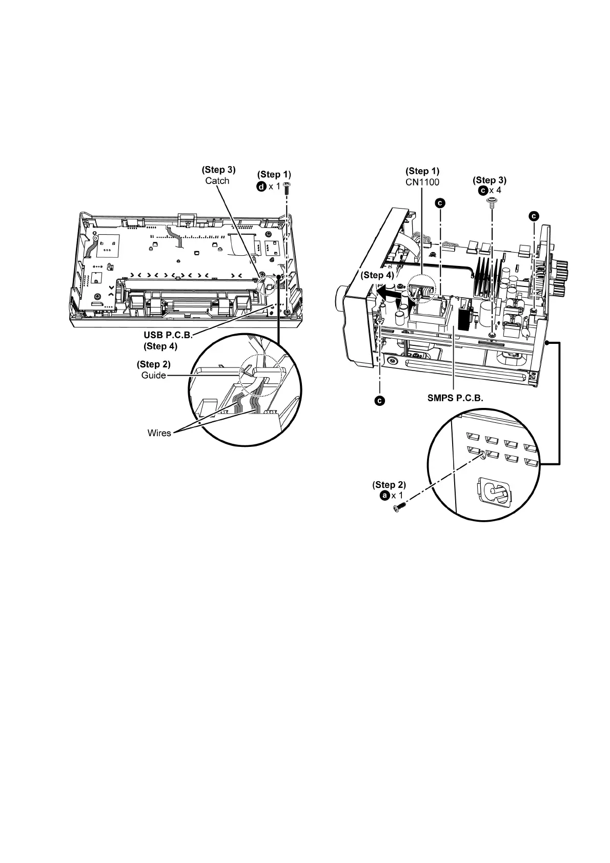
8.9. Disassembly of USB P.C.B.
Refer to “Disassembly of Top Cabinet”
Refer to “Disassembly of Front Panel Unit”
Step 1 : Remove screw.
Step 2 : Release wires from the guide.
Step 3 : Release catch.
Step 4 : Remove USB P.C.B..
8.10. Disassembly of SMPS P.C.B.
Refer to “Disassembly of Top Cabinet”
Step 1 : Detach 15P Wire at connector (CN1100) on Main
P. C .B . .
Step 2 : Remove screw.
Step 3 : Remove 4 screws.
Step 4 : Lift up to remove SMPS P.C.B..

Table of Contents

Related product manuals