EasyManua.ls Logo

Parker ER Series - ER Series Maintenance: Timing Belt Adjustment

Parker ER Series
44 pages
Print Icon
To Next Page IconTo Next Page
To Next Page IconTo Next Page
To Previous Page IconTo Previous Page
To Previous Page IconTo Previous Page
Loading...
Parker Hannifin Corporation
Automation Actuator Division
Wadsworth, OH 44281
23
Automation
ER Series Rodless Actuator
PM-ER01/USA Maintenance Instructions and Parts List
53
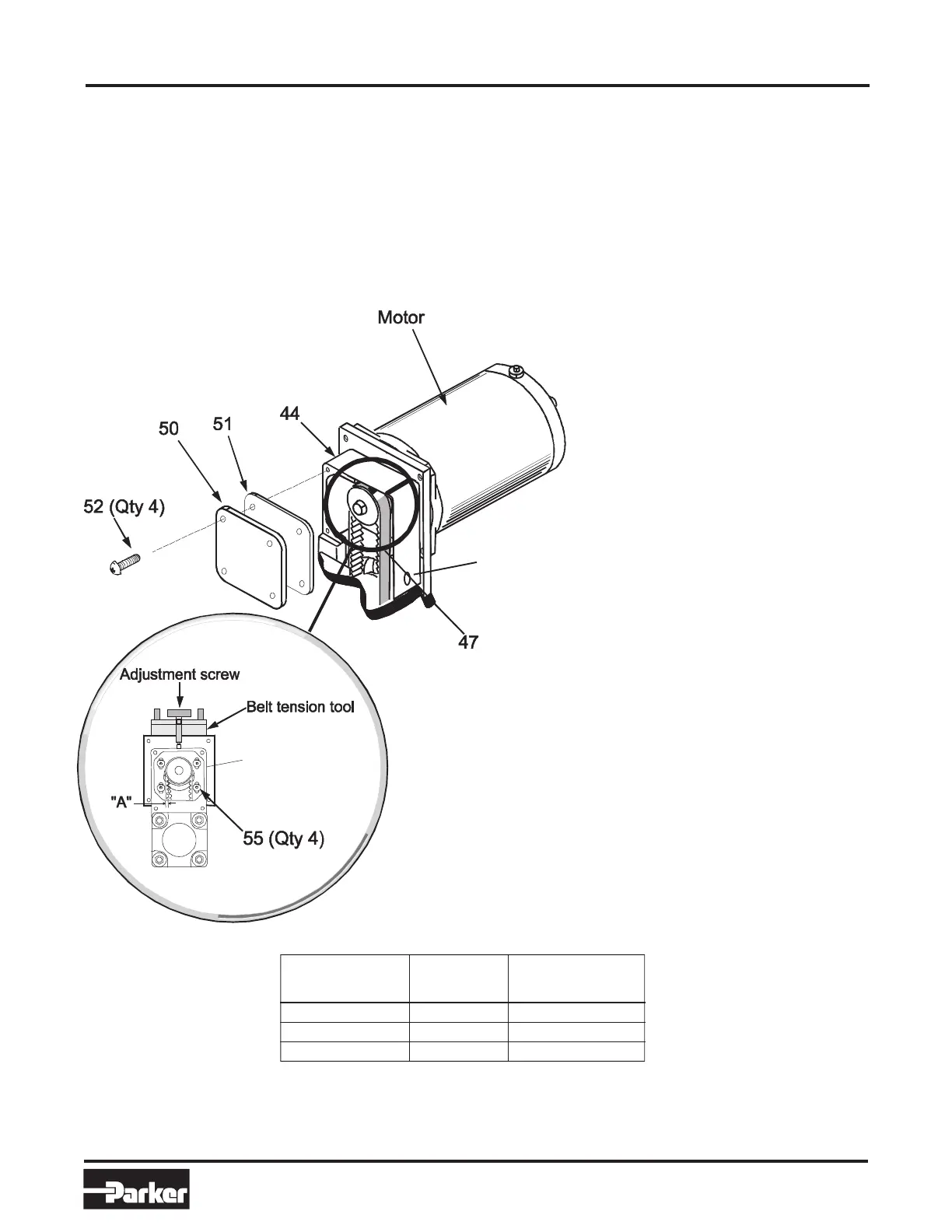
Adjusting Timing Belt Tension
for Parallel Mount Motors
In order to ensure long belt life and consistent performance,
it is important to tension the timing belt correctly. Too little
tension may lead to belt tooth skipping, while too much
tension adds tension to the belt and causes side loading on
both the motor and screw shafts.
Timing Belt Adjustment
(available from Parker AAD)
Belt Tensioning Procedure
1. Remove four button head cap screws (52).
2. Remove cover (50) and gasket (51) from end
cap (44).
3. Loosen four button head cap screws (55).
Loosen just enough to allow motor to move
freely.
4. Adjust belt (47) tension. Refer to Belt tension
table for deflection values. A belt with correct
tension should deflect the listed value (table
below) with the force applied at the access hole
in the housing (44) using Gates Tension Tester
(P/N 7401-0076).
• Using belt tension tool
Attach belt tension tool assembly to mounting
plate (53). Turn adjustment screw as required
to properly tension the timing belt. (Tensioning
procedure supplied with tool.)
• By hand
a. Maintaining proper tension force on the belt at
the middle of the belt span (see chart), tighten
button head cap screws (55).
b. Check for proper belt deflection.
5. Visually inspect for proper seating of belt teeth
in pulley grooves.
6. Torque the four button head cap screws (55).
(Refer to the torque values chart located on
page XX.)
7. Place gasket (51) and cover (50) on end cap
(44), securing with four button head cap screws
(52).
8. Torque the four button head cap screws (52) as
required. (Refer to the torque values chart
located earlier in this section.)
* At mid-span of belt via access hole.
Dimension "A"
Profile Deflection Force
Size Value*
32 3 mm (0.12 in) 17 N (3.7 lb)
50 3 mm (0.12 in) 25 N (5.5 lb)
80 3 mm (0.12 in)
10 N (2.2 lb)
Access Hole

Related product manuals