EasyManua.ls Logo

Parker ER Series - ER Series Roller Bearing Carriages; Load Considerations

Parker ER Series
44 pages
Print Icon
To Next Page IconTo Next Page
To Next Page IconTo Next Page
To Previous Page IconTo Previous Page
To Previous Page IconTo Previous Page
Loading...
Parker Hannifin Corporation
Automation Actuator Division
Wadsworth, Ohio
26
Automation
PM-ER01/USA
ER Series Rodless Actuator
Maintenance Instructions and Parts List
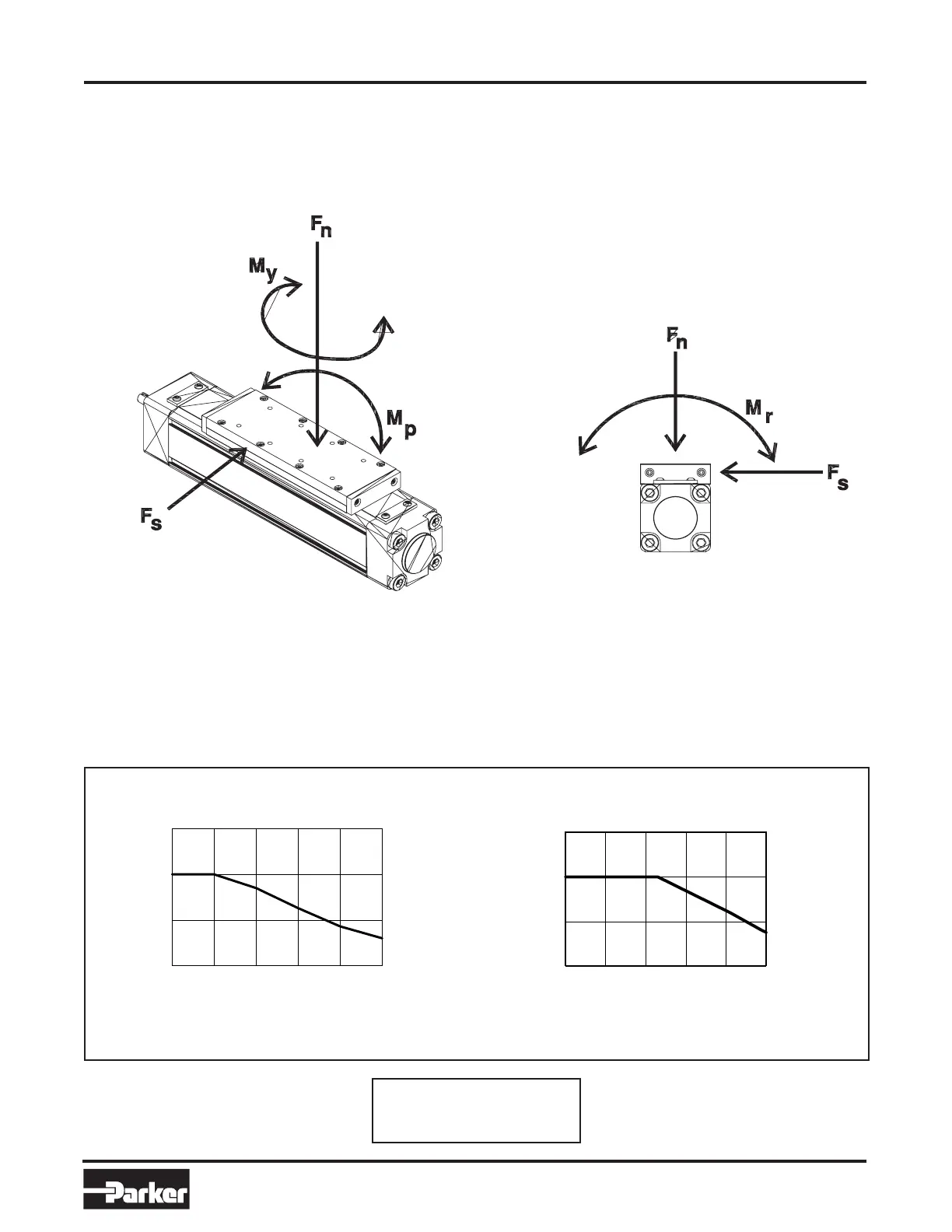
Bearing Carriage Adjustment
The ER Series roller bearing carriage is preloaded against normal and side loading, and pitch, yaw and roll moment
loading (as shown at right). Each of the seven roller bearing wheels consist of a quality radial bearing and Nylon
cover. This Nylon material is designed for long life and minimal distortion under load.
ER Series Roller Bearing Carriages
Key to Terms:
F
n
= Normal Load
F
s
= Side Load
M
p
= Pitch Moment
M
r
= Roll Moment
M
y
= Yaw Moment
Calculate Effective Load (L
eff
):
L
eff
= L
act
/ (f
sp
x f
temp
)
Load Considerations
It is important to consider the parameters of the application to best select an actuator. Should the actuator experi-
ence difficulties during use, it may be necessary to consider the application when searching for a cause.
Two factors limit the performance of the roller bearing carriage, speed and temperature. Under conditions of exces-
sive speed or temperature, the load capacity of the carriage should be derated as shown in the graphs to the right.
To calculate the effective load, divide the actual load by the temperature and speed factors as shown in the formula
below.
012345
0.0
0.5
1.0
1.5
Speed Factor vs Speed
f
sp
Speed, m/sec (in/sec)
0 (40) (80) (120) (160) (200)
Temperature Factor vs Temperature
f
temp
Tem
p
erature, ˚C
(
˚F
)
0 1020304050
0.0
0.5
1.0
1.5
(32) (50) (68) (86) (104) (122)

Related product manuals