EasyManua.ls Logo

PEERLESS SERIES 62 - 24 Volt Control System W;Dual Valves

PEERLESS SERIES 62
48 pages
Print Icon
To Next Page IconTo Next Page
To Next Page IconTo Next Page
To Previous Page IconTo Previous Page
To Previous Page IconTo Previous Page
Loading...
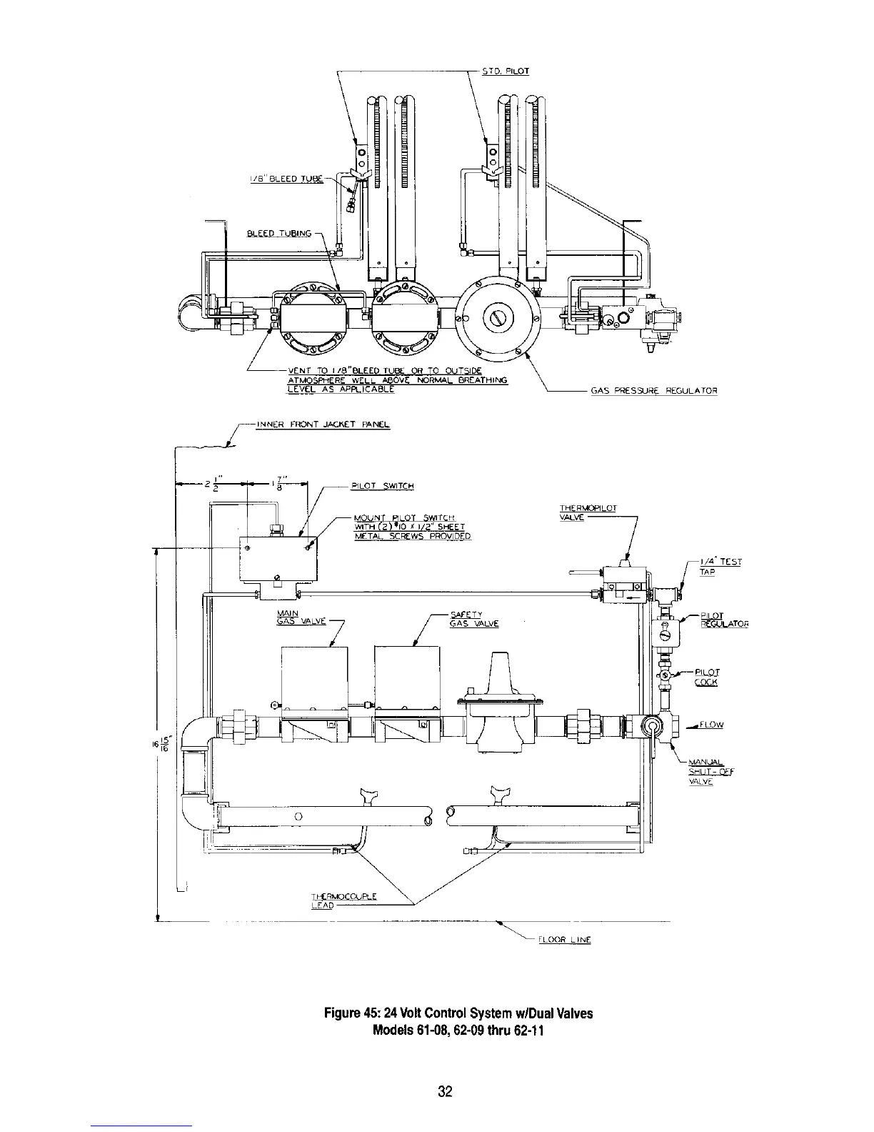
I/8"BLEED
GAS PI_ESSURE REGULATOR
_/_INNER FRONT J,t*CKET PANEL
16_"
i,, 7,,
_2 2 _8 F_LOT
- THERMC_ILOT
I/4" TEST
TAP
MAIN SAFETY _ ]'F_- P_
T PERMOCOUPLE
FLOO R LINE
Figure45:24 VoltControlSystemw/DualValves
Models61-08,62-09thru62-11
32

Table of Contents

Related product manuals