EasyManua.ls Logo

PEERLESS SERIES DE - Direct Exhaust; Vertical Venting

Default Icon
39 pages
Print Icon
To Next Page IconTo Next Page
To Next Page IconTo Next Page
To Previous Page IconTo Previous Page
To Previous Page IconTo Previous Page
Loading...
Iml m]I :t;:[O.]ltil _.'4 -"r_"lm_"']ti kVA=1;_lti[e,]r_,'WIvd =lk_IItih._[€"ll
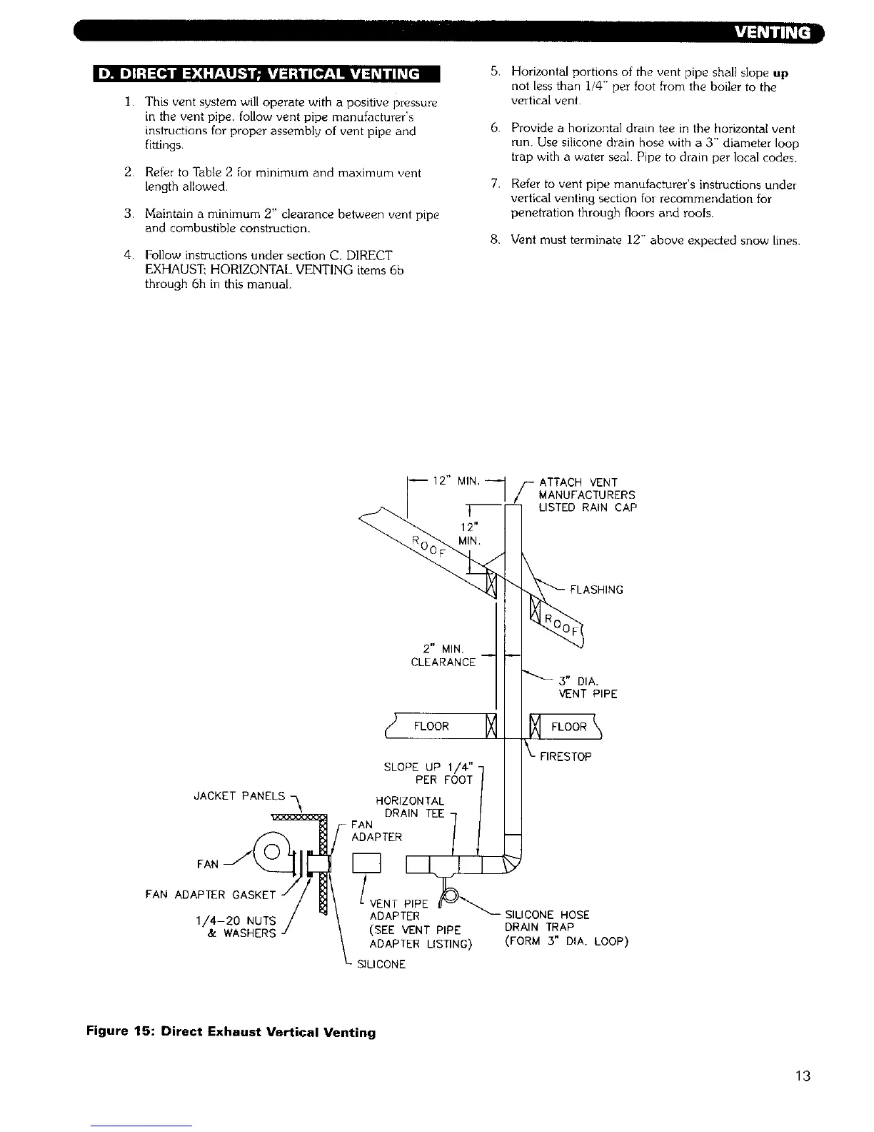
1.
2.
3.
4,
This vent system will operate with a positive pxessure
in the vent pipe. follow vent pipe manufacturer's
instructions for proper assembly of vent pipe and
fittings.
Refer to Table 2 for minimum and maximum vent
length allowed.
Maintain a minimum 2" clearance between vent pipe
and combustible construction.
Follow instructions under section C. DIRECT
EXHAUST; HORIZONTAL VENTING items 6b
through 6h in this manual.
5
6
7.
Horizontal portions of the vent pipe shall slope up
not less than 1/4"' per foot from the boiler to the
vertical vent
Provide a horizontal drain tee in the horizontal vent
run. Use silicone drain hose with a 3" diameter loop
trap with a water seal Pipe to drain per local codes.
Refer to vent pipe manufacturer's instructions under
vertical venting section for recommendation for
penetration through floors and roofs.
8. Vent must terminate 12" above expected snow lines.
JACKET PANELS_
FAN
FAN ADAPTER GASKET
1/4-20 NUTS
& WASHERS
2" MIN.
CLEARANCE
FLOOR D
SLOPE UP 1/4".
PER FOOT
HORIZONTAL
FAN DRAIN TEE]
ADAPTER
!
(SEE VENT PIPE
ADAPTER LISTING)
SILICONE
-- ATTACH VENT
MANUFACTURERS
LISTED RAIN CAP
ASHING
3" DIA.
VENT PIPE
_- FIRESTOP
SILICONE HOSE
DRAIN TRAP
(FORM 3" DIA, LOOP)
Figure 15: Direct Exhaust Vertical Venting
13

Table of Contents

Related product manuals