EasyManua.ls Logo

Perkins M250C - Page 197

Perkins M250C
220 pages
Print Icon
To Next Page IconTo Next Page
To Next Page IconTo Next Page
To Previous Page IconTo Previous Page
To Previous Page IconTo Previous Page
Loading...
KENR9126 197
Troubleshooting Section
A problem with the circuit for the synchronization
switch may prev
ent the ECM from responding to
a valid signal from the TPS. The following active
diagnostic codes will also prevent the ECM from
responding to
the throttle input:
91-13 Throttle Position Calibration required
268-02 Check Programmable Parameters
774-13 Seco
ndary Throttle Position Calibration
required
If one of the
above diagnostic codes is active,
troubleshoot that code before you continue with this
procedure.
This troubleshooting procedure veries that the
signal from a TPS is valid at the ECM.
If necessary, make repairs to the circuit for the TPS.
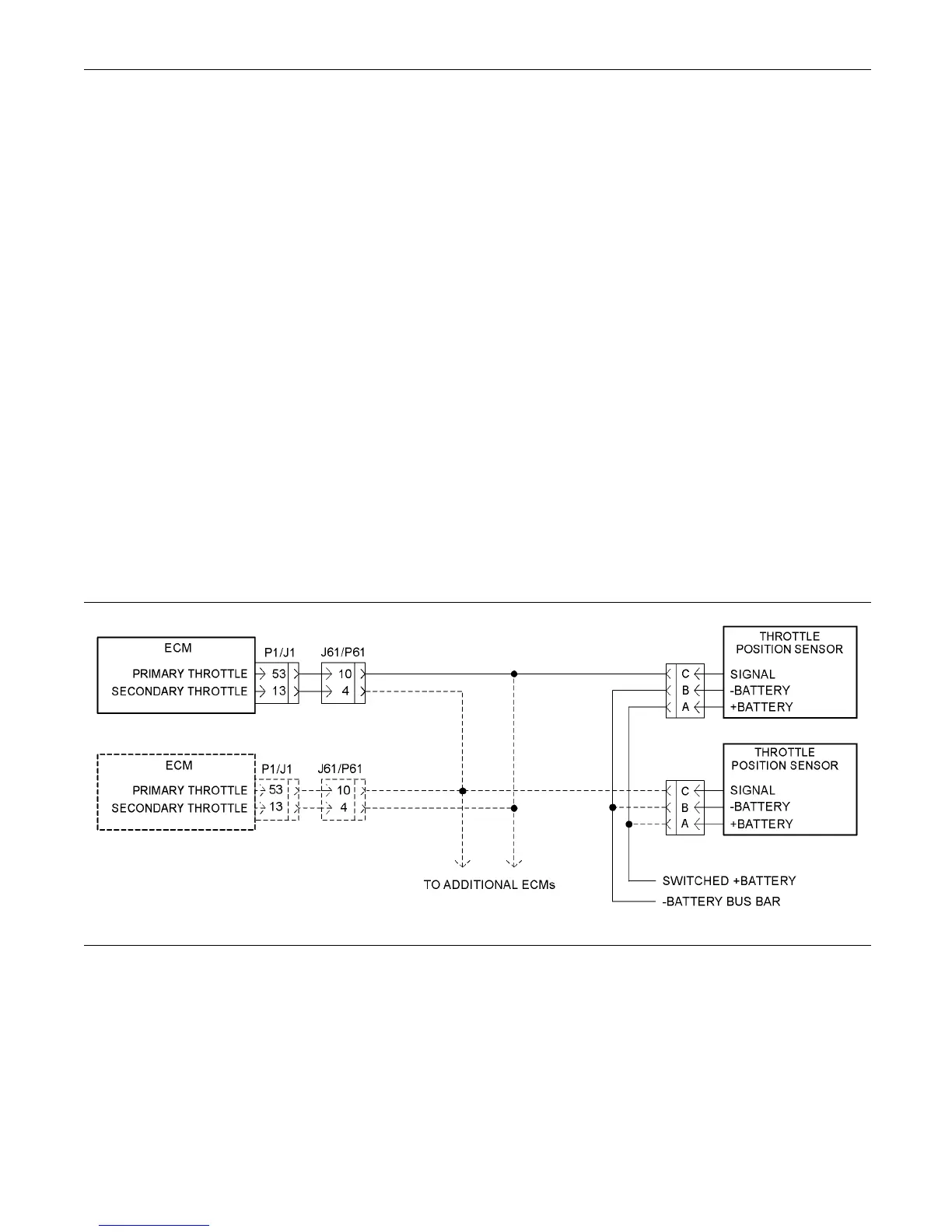
Two throt
tle position sensors are shown in Illustration
82. A vessel may contain more than one TPS. Each
TPS may be connected to more than one ECM. Refer
to the ves
sel's schematic diagram for the actual
conguration. Use this procedure to troubleshoot all
possible congurations.
g02192034
Illustration 82
Typical s chem atic for the throttle position s ensor
Test Step 1. Verify that the “Secondary
Throttle Enable” Parameter is
Programmed Correctly
A. Connect the electronic service tool to the service
tool connector.
B. Establish communication with the ECM that
activated the 08 diagnostic code.
C. Verify that the Secondary Throttle Enable status
is programmed correctly.
a. If the engine is equipped with a single TPS,
verify that the Secondary Throttle Enable”
parameter is programmed to “Disabled”.

Table of Contents