EasyManua.ls Logo

Philips 220E1SB/00 - Key Board

Philips 220E1SB/00
97 pages
Print Icon
To Next Page IconTo Next Page
To Next Page IconTo Next Page
To Previous Page IconTo Previous Page
To Previous Page IconTo Previous Page
Loading...
32
Meridian 1
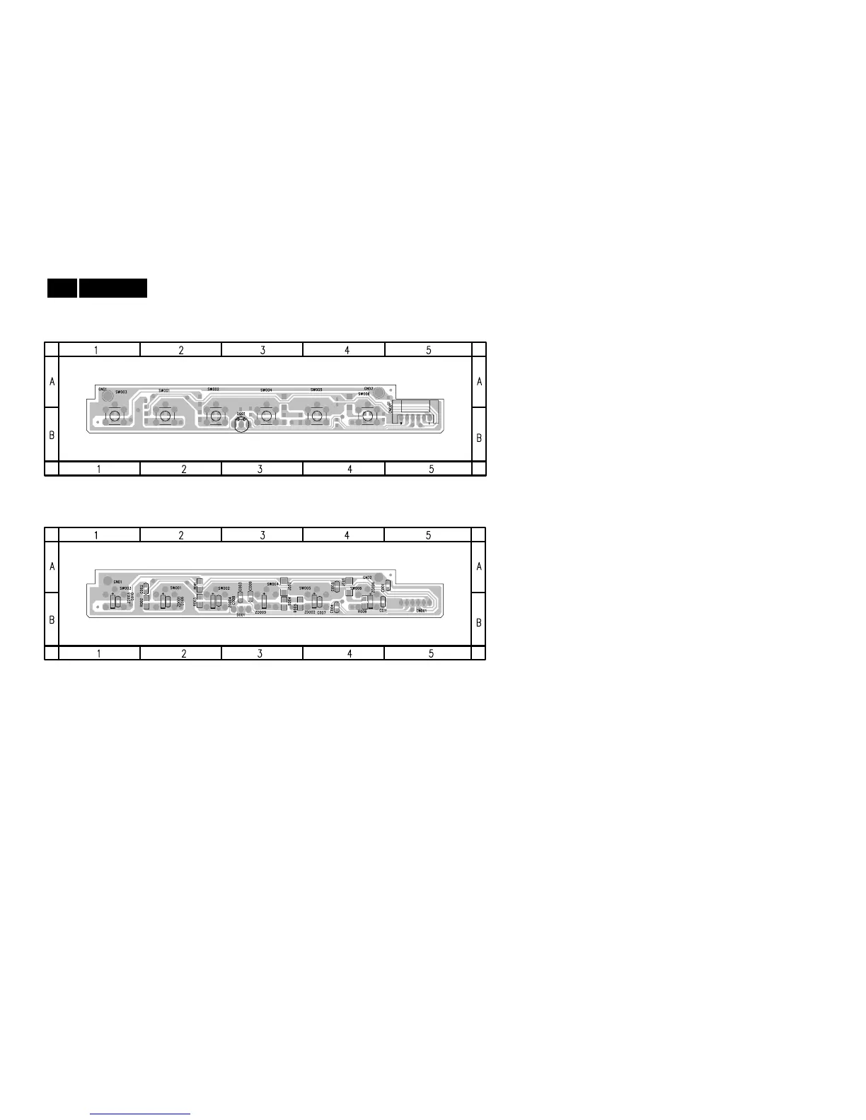
7.3 Key Board
715G2836-1-2
CN001 B5 SW002 B2
D001 B3 SW003 B1
GND1 A1 SW004 B3
GND2 A4 SW005 B4
SW001 B2 SW006 B4
C001 A4 C010 B1 R006 B4
C002 A2 C011 B4 ZD001 B2
C003 B3 J001 A4 ZD002 B4
C004 B4 J002 A3 ZD003 B1
C005 A4 R001 A2 ZD004 B2
C006 B2 R002 B2 ZD005 B3
C007 B4 R003 B2 ZD006 B4
C008 B2 R004 B3
C009 B3 R005 B3

Table of Contents

Related product manuals