EasyManua.ls Logo

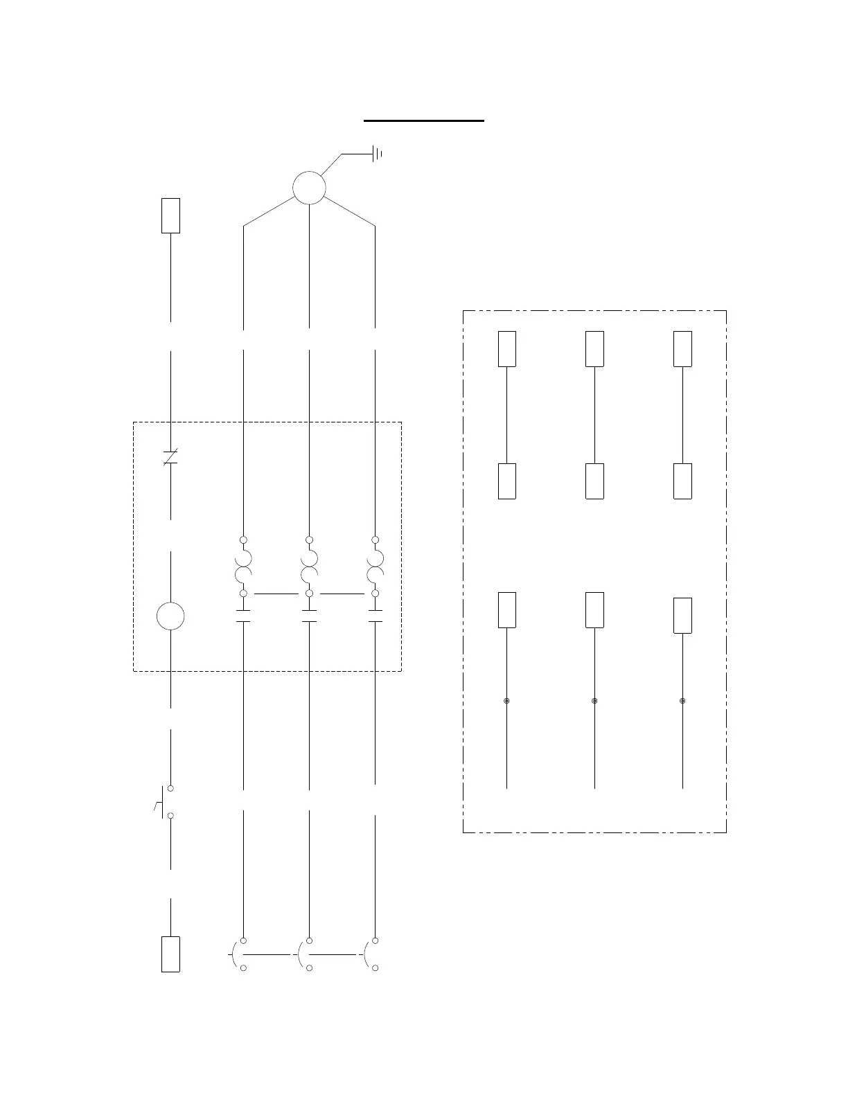
PMC PH - Motor Circuit Ladder Diagram (400 VAC)

PMC PH
58 pages
Print Icon
To Next Page IconTo Next Page
To Next Page IconTo Next Page
To Previous Page IconTo Previous Page
To Previous Page IconTo Previous Page
Loading...
400 VAC
52
Motor Circuit
21
CB4
3 4
5 6
T1L1
CONTACTS
T2L2
T3L3
A2A1
COIL
107
4 3
MOTOR POWER
200
M
9596
NC
T7
T8
T9
T2
T1
T3
T4
T5
T6
L1
L2
L3
MOTOR WIRE CONFIGURATION
M2 CONTACTOR - OVERLOAD
107 39 39A 200
16
17
17A
T1
T2
T3
L1
L2
L3

Related product manuals