EasyManua.ls Logo

Primer DS-17 - Page 246

Default Icon
Print Icon
To Next Page IconTo Next Page
To Next Page IconTo Next Page
To Previous Page IconTo Previous Page
To Previous Page IconTo Previous Page
Loading...
244
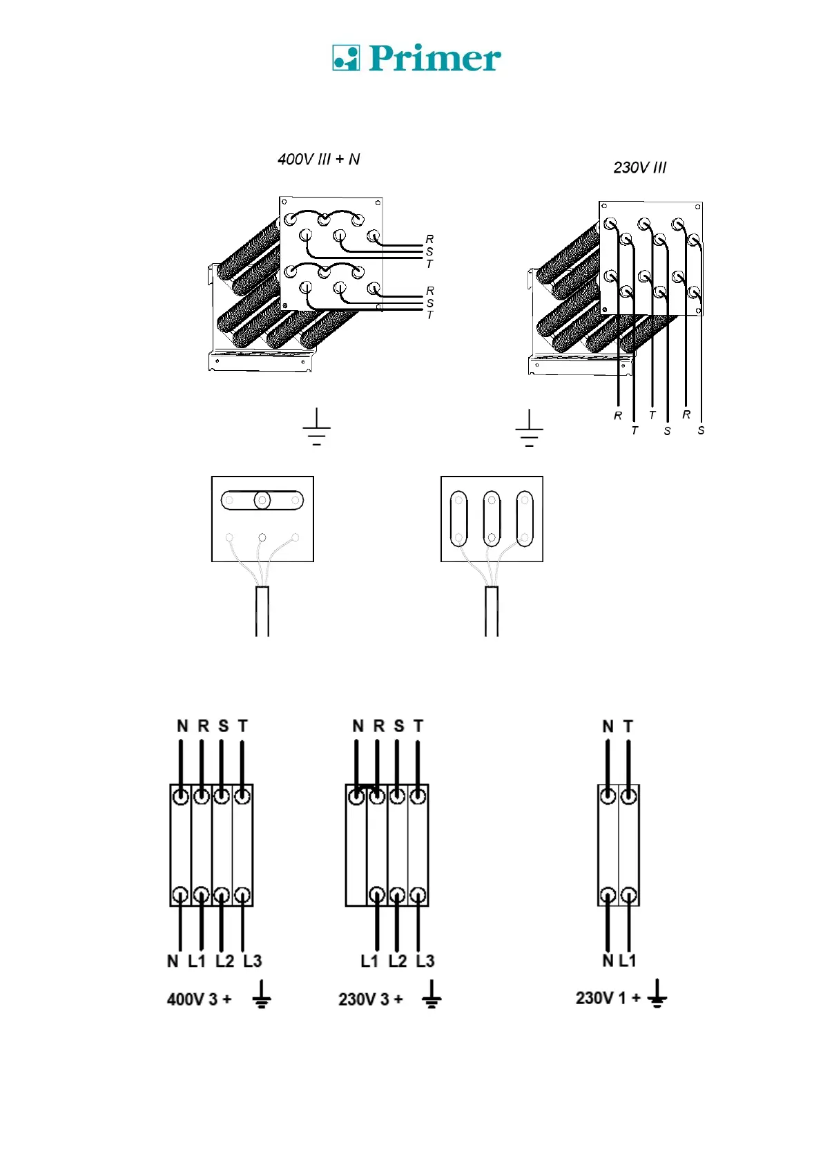
La batteria elettrica della DS/DL-35D è composta di 3 moduli di resistenze: Le figure rappresentano
un'immagine schematica dei collegamenti, non una visione reale degli stessi.
Scatola di derivazione del motore del ventilatore. PER TUTTI I MODELLI
400V 3 + 230V 3 +
Terminali d’ingresso, alimentazione elettrica
MACCHINA
RETE
U
WU V
V W

Table of Contents

Related product manuals