EasyManua.ls Logo

Primer DS-17 - Page 33

Default Icon
Print Icon
To Next Page IconTo Next Page
To Next Page IconTo Next Page
To Previous Page IconTo Previous Page
To Previous Page IconTo Previous Page
Loading...
31
MODELO DS/DL-23
ATENCION
Para el modelo DS/DL-23 Calefacción eléctrica NO SE PUEDE realizar el cambio de 400V a
230V sin cambiar el contactor, el interruptor general y la sección de los cables.
Para ello, consultar con el Servicio de Asistencia Técnica.
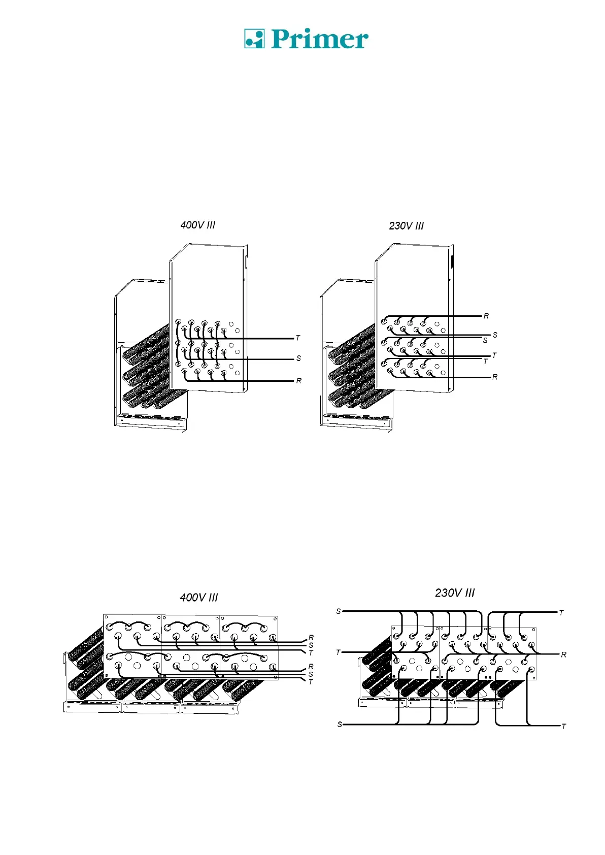
Conjunto resistencias (Solo para calefacción eléctrica)
Únicamente para pasar de 230V a 400V).
Las figuras son una imagen esquemática de las conexiones, no una visión real de las mismas.
MODELO DS/DL-28D/35D
ATENCION
Para el modelo DS/DL-28D/35D Calefacción eléctrica NO SE PUEDE realizar el cambio de
400V a 230V sin cambiar el contactor, el interruptor general y la sección de los cables.
Para ello, consultar con el Servicio de Asistencia Técnica.
Conjunto resistencias (Solo para calefacción eléctrica).
La batería eléctrica de la DS/DL-28D consta de 3 módulos de resistencias:

Table of Contents

Related product manuals