EasyManua.ls Logo

ProMinent DULCOTEST - Page 10

ProMinent DULCOTEST
68 pages
Print Icon
To Next Page IconTo Next Page
To Next Page IconTo Next Page
To Previous Page IconTo Previous Page
To Previous Page IconTo Previous Page
Loading...
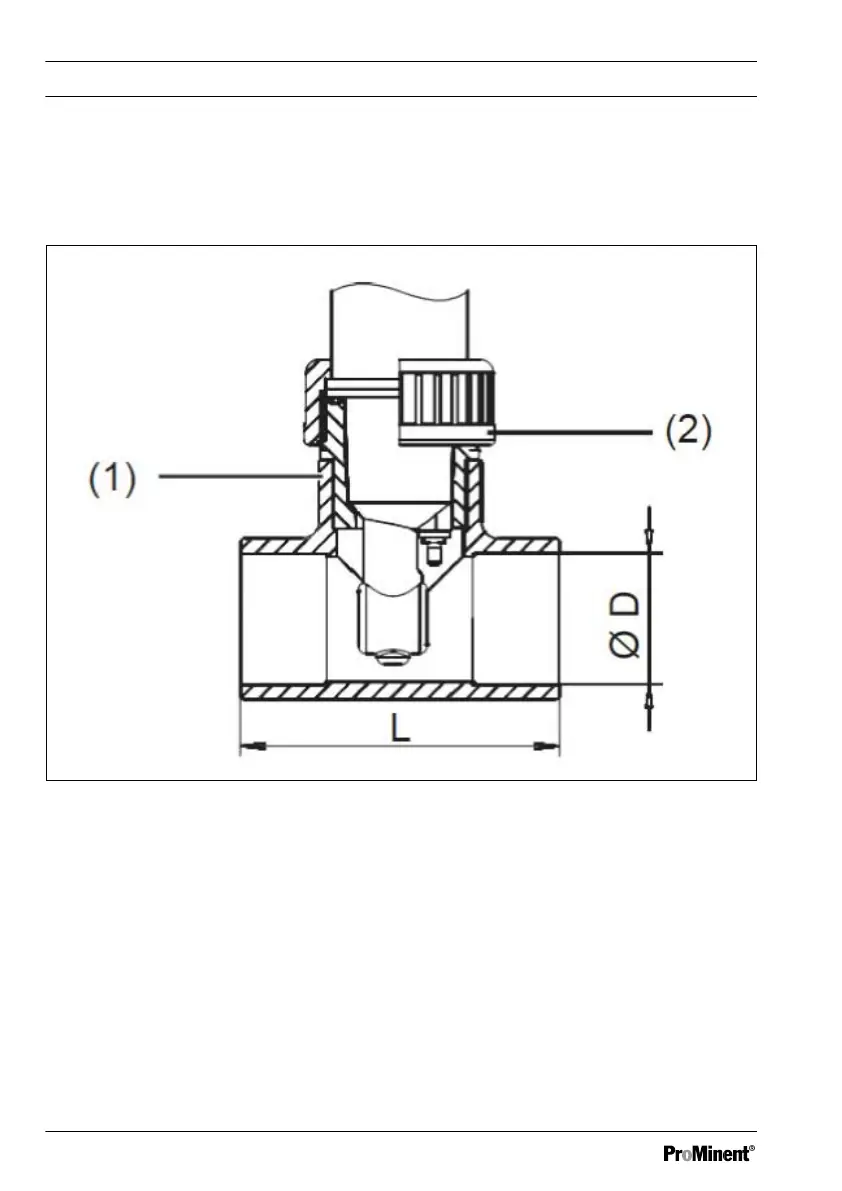
Sensor type ICT 5
The sensor type ICT5 is connected to a standard DN40 T-piece (on site) using a threaded socket
and a union nut for operation in the flow.
A2641
Fig. 2: Sensor type ICT 5
1. Threaded socket, G 1 1/2” (PVC or PP)
2. Union nut (PVC or PP)
Introduction
10

Related product manuals