EasyManua.ls Logo

ProMinent DULCOTEST - 4.1 Installation of sensor type ICT 5

ProMinent DULCOTEST
68 pages
Print Icon
To Next Page IconTo Next Page
To Next Page IconTo Next Page
To Previous Page IconTo Previous Page
To Previous Page IconTo Previous Page
Loading...
4.1 Installation of sensor type ICT 5
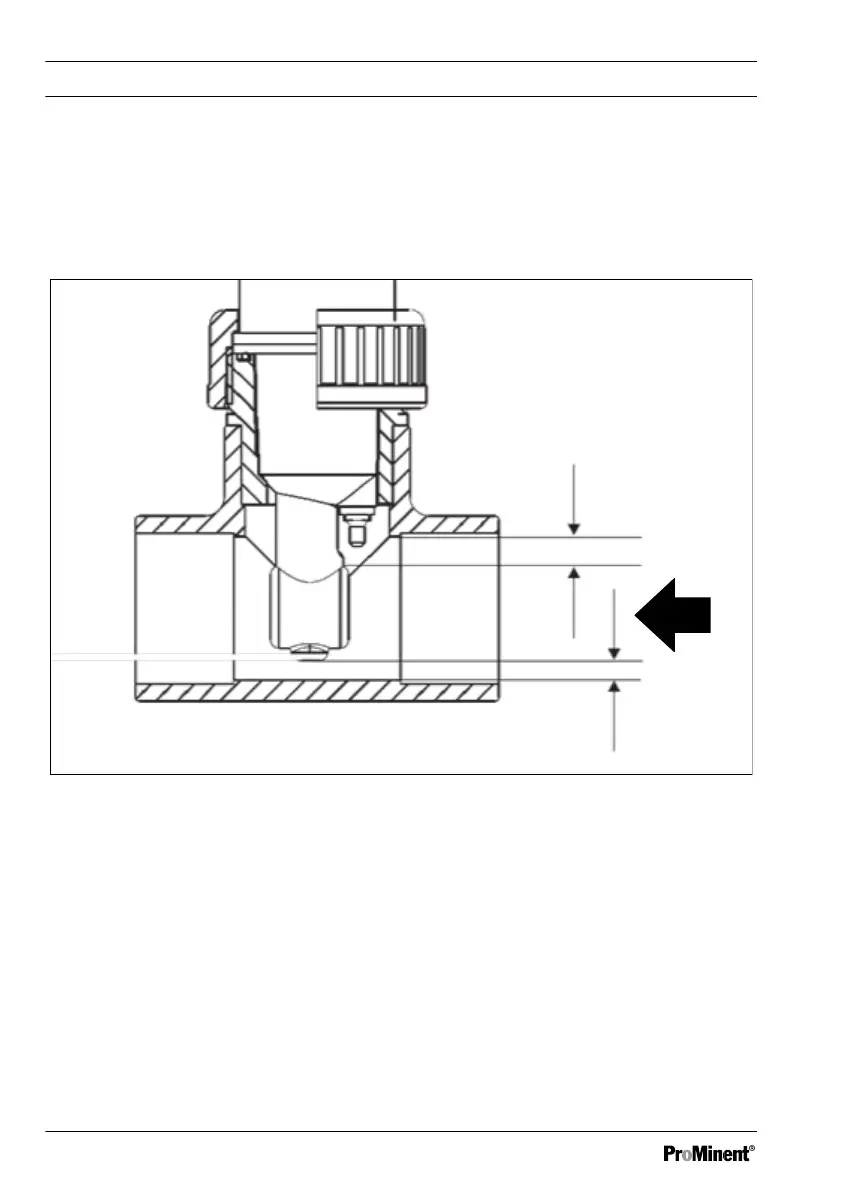
Fitting position
You can operate the sensor at any angle (0 ... 360°). The sensor is installed in a DN40 standard T-
piece, as shown in Fig. 6 with regard to its flow and the minimum distances from the walls.
1
1
3
2
A2618
Fig. 6: Fitting position of sensor type ICT5 in the T-piece (DN40)
1 ≧ 20 mm
2 Flow direction
3 Sensor
Assembly and installation
20

Related product manuals