EasyManua.ls Logo

ProMinent DULCOTEST - Montage des Sensortyps ICT 5

ProMinent DULCOTEST
68 pages
Print Icon
To Next Page IconTo Next Page
To Next Page IconTo Next Page
To Previous Page IconTo Previous Page
To Previous Page IconTo Previous Page
Loading...
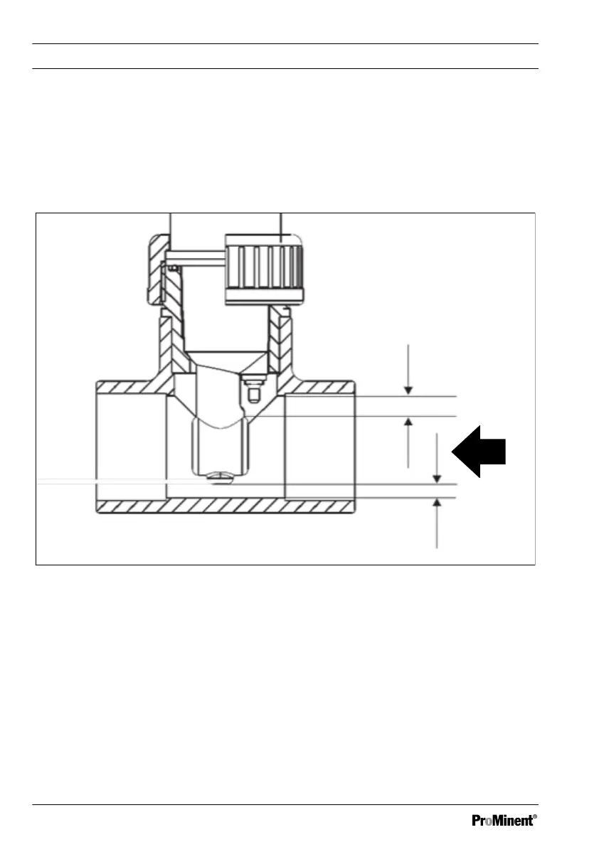
4.1 Montage des Sensortyps ICT 5
Einbaulage
Sie können den Sensor in jeder Winkelorientierung (0 ... 360°) betreiben. Der Sensor wird bezüglich
seiner Anströmung und den Mindestabständen von Wandungen, wie in Abb. 6 gezeigt, in ein DN40
Standard-T-Stück eingebaut.
1
1
3
2
A2618
Abb. 6: Einbaulage des Sensorstyps ICT5 im T Stück (DN40)
1 ≧ 20 mm
2 Strömungsrichtung
3 Sensor
Montage und Installation
52

Related product manuals