EasyManua.ls Logo

ProMinent DULCOTEST - Page 42

ProMinent DULCOTEST
68 pages
Print Icon
To Next Page IconTo Next Page
To Next Page IconTo Next Page
To Previous Page IconTo Previous Page
To Previous Page IconTo Previous Page
Loading...
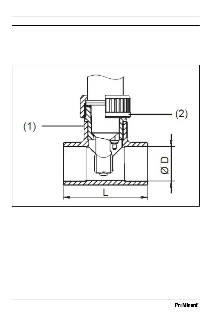
Sensortyp ICT 5
Der Sensortyp ICT5 wird über eine Gewindebuchse und Überwurfmutter an ein Standard T-Stück
DN40 (bauseits) zum Betrieb im Durchfluss angebunden.
A2641
Abb. 2: Sensortyp ICT 5
1. Gewindebuchse G 1 1/2“ (PVC bzw.PP)
2. Überwurfmutter (PVC bzw. PP)
Einleitung
42

Related product manuals