EasyManua.ls Logo

ProMinent S2Ba - Page 46

ProMinent S2Ba
63 pages
Print Icon
To Next Page IconTo Next Page
To Next Page IconTo Next Page
To Previous Page IconTo Previous Page
To Previous Page IconTo Previous Page
Loading...
Page 46
ProMinent
®
Dulcodes UV-Desinfektionsanlage
Settings
4 - 20 mA: at 4 mA the S2Ca does not operate
at 20 mA the S2Ca operates at 180 strokes/min.
Between these two extremes the stroke rate is proportional to the electrical
signal.
For signals of below 3.8 mA a fault will be detected and the S2Ca will stop
(e.g. cable break).
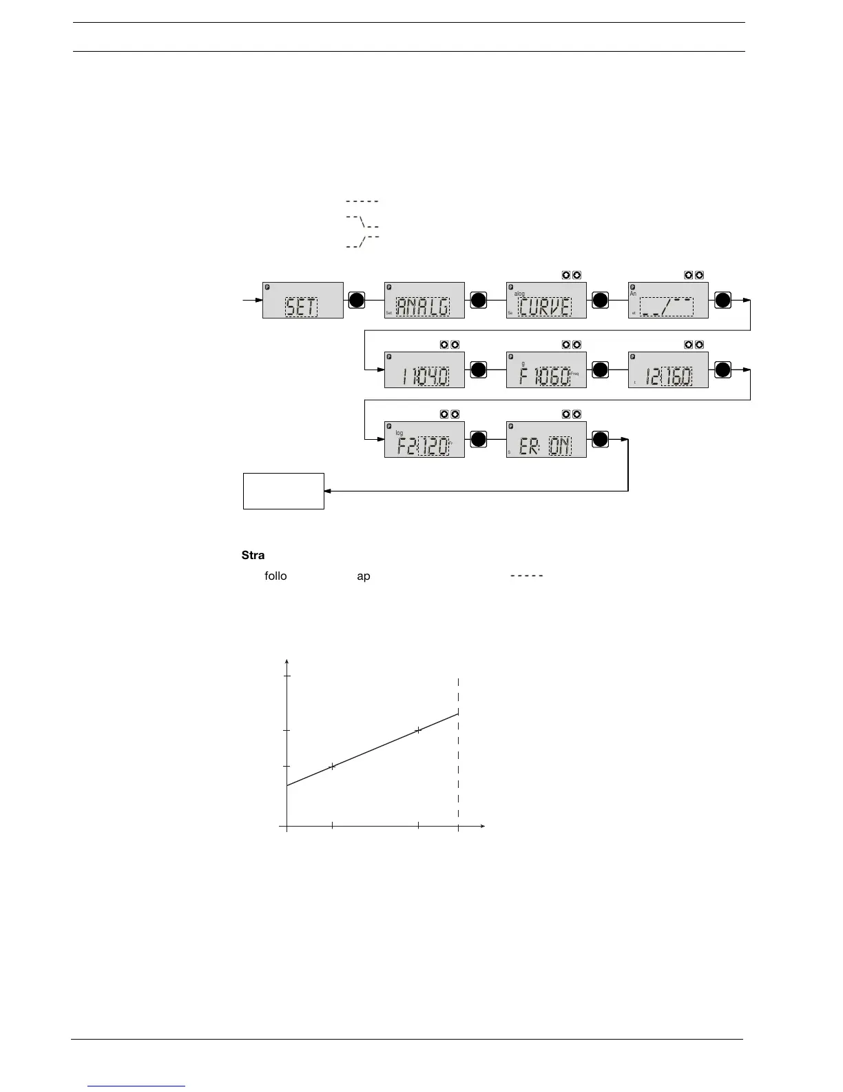
Curve: In the curve processing mode you can programme the S2Ca ratios.
There are 3 options available:
= straight line
= lower band
= upper band
P
P
P
P P
P
P P
P
Continuous
display
glana
Set
evruc
Set
Analog
nore
Set
Analog
Set
Analog
04o1i
Analog
mA
Set
0212f
Analog
Freq.
Set
06o1f
Analog
Freq.
Set
0612i
Analog
mA
Set
tes
Straight line:
The following symbol appears in the LCD display: .
You can enter any stroke frequency ratio for the S2Ca in proportion to the electrical signal.
You must enter two points P1 (I1, F1) and P2 (I2, F2). F1 is the stroke rate at which the pump
should operate at current I1: the straight line and the ratio are fixed accordingly:
I [mA]
I 1
I 2
F1
F2
F
max
020
P1
P2
Fig. 19
NOTE
Draw a diagram like the one above - with values for (I1, F1) and (I2, F2) - in order to set
the S2Ca to your required stroke rate!

Table of Contents

Related product manuals