EasyManua.ls Logo

ProMinent S2Ba - Cancel Total Stroke Number or Total Litres (CLEAR Window); Setting Code (CODE Menu); Settings for Auxiliary Frequency Function (AUX Menu); Settings for the Flow Function (FLOW Menu)

ProMinent S2Ba
63 pages
Print Icon
To Next Page IconTo Next Page
To Next Page IconTo Next Page
To Previous Page IconTo Previous Page
To Previous Page IconTo Previous Page
Loading...
Dulcodes UV-Desinfektionsanlage
Page 51
ProMinent
®
Settings
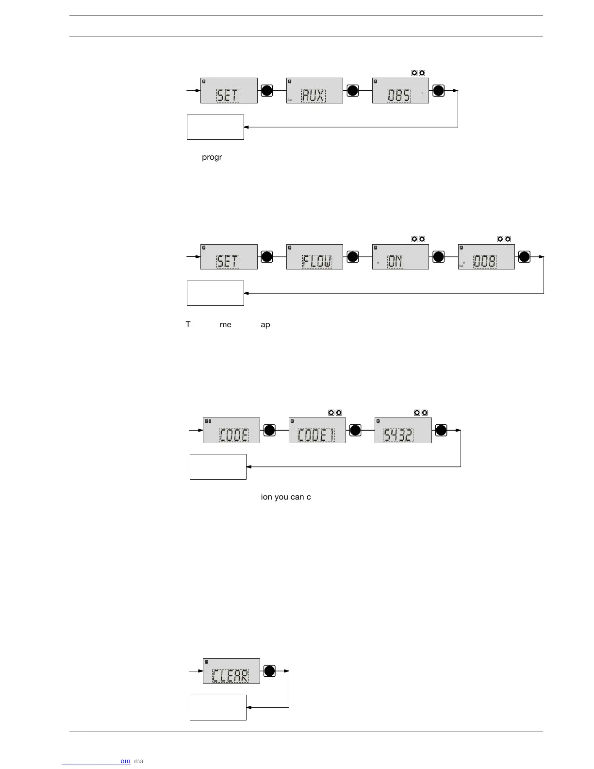
7.5.2 Settings for “auxiliary frequency” function (AUX menu)
P
P
P
Continuous
display
NK=
Set
Freq.
Set
Aux
#&
JAI
The programmable function auxiliary frequency allows switching to a different stroke
frequency, which can be set in the AUX menu. It can be activated via the external control
terminal. When the auxiliary frequency is activated, aux appears in the LCD display.
This auxiliary frequency overrides the current stroke frequency set for the selected operating
mode.
7.5.3 Settings for the “flow” function (FLOW menu)
P
P P
P
Continuous
display
wolf
Set
no
Set
Flow
800
Set
Flow
tes
The flow menu only appears when a dosing monitor is connected to the dosing monitor
terminal. This dosing monitor registers each discharge stroke of the S2Ca at the discharge
connector and transmits it back to the S2Ca. If this response transmission is serially omitted
for a period set in the FLOW menu (due to failure or below-minimum dosing) the S2Ca stops.
7.6 Setting code (CODE menu)
The code menu is used to select whether you want to prevent access to parts of the settings
options.
P
P P
Continuous
display
edoc
1edoc
2345
In the first menu option you can choose CODE 1 or CODE 2 (both use the same number).
Select CODE 1 to prevent access to the settings mode ( in the overview operating/
settings diagram, fold-out page). In the next menu option, enter the number you wish to
use as the code.
Select CODE 2 to prevent access to the settings options for directly alterable values in the
continuous displays ( in the overview operating/settings diagram, fold-out page). In the
next menu option, enter the number you wish to use as the code.
Select NONE to remove a pre-set security lock.
7.7 Cancel total stroke number or total litres (CLEAR window)
In the CLEAR window you can delete the stored total stroke number and simultaneously the
total litres (= set to 0). You may then press the P key briefly to exit this window.
The values displayed are counted incrementally from the point of commissioning the pump, or
from the last delete action.
P
Continuous
display
raelc
L
N

Table of Contents

Related product manuals