EasyManua.ls Logo

PTI security systems APEX - Page 14

PTI security systems APEX
64 pages
Print Icon
To Next Page IconTo Next Page
To Next Page IconTo Next Page
To Previous Page IconTo Previous Page
To Previous Page IconTo Previous Page
Loading...
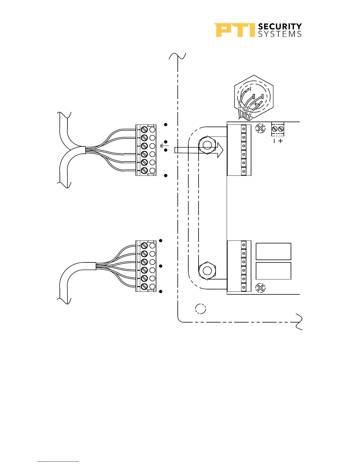
NOTE: IF 2 GATES
ARM = RELAY1
SLIDE = RELAY2
RELAY2 CAN BE TIMED
FROM POWER
SUPPLY AND
CONTROLLER
TO GATE OR
DOOR STRIKE
TO REMOTES
CAMERA
AC/+
AC/
ERTH
DAT+
SHLD
DAT
1
2
P1
P4
NO1
C1
NC1
NO2
C2
NC2
K1 K2
RELAY 1
RELAY 2
AC
DC
+ −
DATA
FROM
CTRLR
RED
BLK
WHT
SHD
GRN
Drawing 8: Wiring for
APEX keypad
APEX Access Device
10
114A3863.E rev. 7-2017

Related product manuals