EasyManua.ls Logo

Radio Shack PRO-652 - Manual Mode

Radio Shack PRO-652
128 pages
To Next Page IconTo Next Page
To Next Page IconTo Next Page
To Previous Page IconTo Previous Page
To Previous Page IconTo Previous Page
Loading...
36
Scanning
37
Manual Mode
In Manual Mode, you can browse through the stored objects in your
scanner and select an object to monitor.
1. Press MAN during scanning to enter Manual Mode.
2. Press p or q to scroll through the objects assigned to the
current Scan List.
3. Press t or u to browse up and down through the Scan Lists.
Only Scan Lists that contain objects are shown when browsing. A
quick low-high wrap beep sounds when the scanner reaches the last
occupied Scan List and wraps back to the beginning.
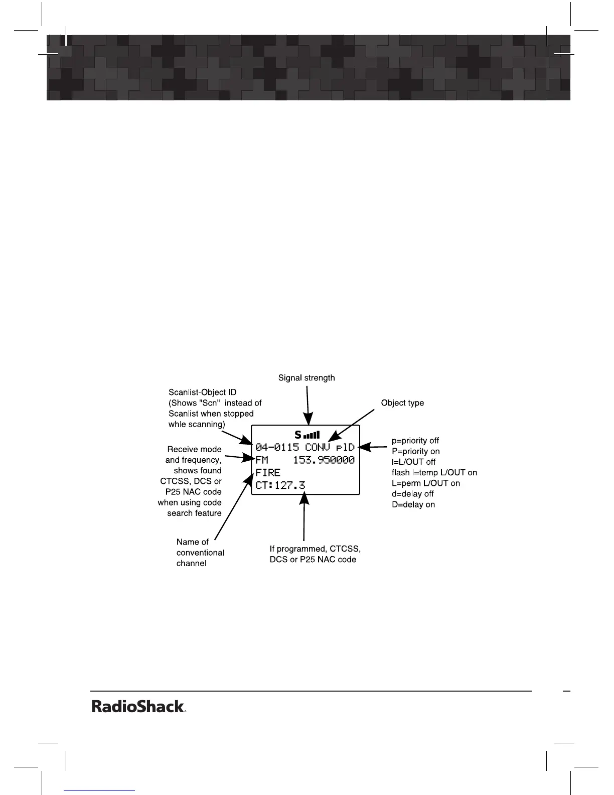
The following screen appears when the scanner
is stopped on a
conventional channel while scanning.

Table of Contents

Related product manuals