EasyManua.ls Logo

Ravaglioli G8945D.26 - Tool Control Unit; Bead-Breaking Arm Control Unit

Ravaglioli G8945D.26
107 pages
Print Icon
To Next Page IconTo Next Page
To Next Page IconTo Next Page
To Previous Page IconTo Previous Page
To Previous Page IconTo Previous Page
Loading...
INSTRUCTION, USE AND
MAINTENANCE MANUAL
GB
Page 18 of 60
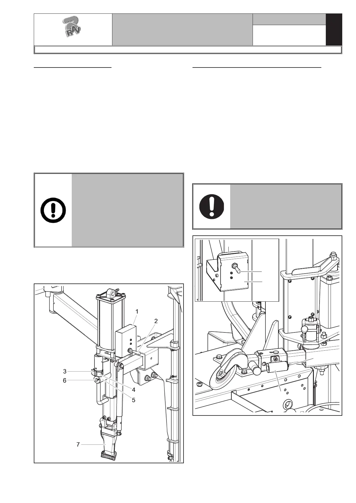
11.2 Tool control unit
It is made up of:
It is made up of an handle control (Fig. 17 ref. 1),
positioned on the tool arm. Through this handle
control you can control the vertical translation for
the tool introduction and bead coupling. Lift the lever
(Fig. 17 ref. 2) to operate the upwards translation,
and lower the lever (Fig. 17 ref. 2) to perform the
downwards translation;
- a control with two push-buttons: press the button
(Fig. 17 ref. 3) to unlock the vertical translation and
to move upwards the tool arm, by pressing the push-
button (Fig. 17 ref. 4) you can unlock the horizontal
translation and move downwards the tool arm;
CONTROLS (FIG. 17 REF. 3-4) (IN
ORDER TO PREVENT THE WRONG
USE OF THE TYRE CHANGER)
ARE OPERATIVE ONLY IF THE
TOOL (FIG. 17 REF. 7) IS IN
COMPLETELY LIFTED POSITION.
OPERATE LEVER (FIG. 17 REF. 2),
BY SHIFTING IT UPWARDS, IN
ORDER TO MOVE THE TOOL TO
SUCH POSITION.
- a handle control (Fig. 17 ref. 5) through a thrust
and return movement, together with (Fig. 17 ref. 6)
unlocking push button, enables tools setting on wheel
diameter (only horizzontally).
Fig. 17
11.3 Bead-breaking arm control unit
It is made up of an handle control (Fig. 18 ref. 1),
positioned on the device. This handle control allows
to operate the vertical translation of the bead breaker
arm . Lift the lever (Fig. 18 ref. 2) to operate the up-
wards translation, and lower the lever (Fig. 18 ref. 2)
to perform the downwards translation.
Pull the rear lever (Fig. 18 ref. 3) to operate the bead-
ing roll progress. The present control is a maintained
operative control. When the lever is released the bead
roll returns to rest position.
The bead breaking arm is equipped with an unlock-
ing push button (Fig. 18 ref. 4) that must be pressed
before gripping the handle (Fig. 18 ref. 5) to place
the bead breaking roll on the rim edge. Releasing the
push button, the roll locks itself into the set position.
THE PUSH-BUTTON (Fig. 18 ref. 4)
MUST BE PRESSED BEFORE AC-
TIVATING THE HANDLE (Fig. 18
ref. 5) OTHERWISE THE HANDLE
DOES NOT ALLOW ANY MOVE-
MENT.
1
2
3
4
5
Fig. 18
RAVAGLIOLI S.p.A.
7300-M018-2_R
G8945.26 - G8945IT.26 - G8945V.26 - G8945ITV.26 - G8945V.26S - G8945ITV.26S - G8945D.26 - G8945ITD.26 - G8945D.26S - G8945ITD.26S

Table of Contents

Related product manuals