EasyManua.ls Logo

Record Power BS10 - Machine Assembly - Cont.; Rip Fence Fitting and Alignment; Drive Belt Tension and Fence Alignment

Record Power BS10
36 pages
Print Icon
To Next Page IconTo Next Page
To Next Page IconTo Next Page
To Previous Page IconTo Previous Page
To Previous Page IconTo Previous Page
Loading...
14
8. Machine Assembly - Cont.
90º
90º
Fence Alignment 1
Adjustment can be made to the fence (Fig. 8.6, A) in
relation to being parallel to the blade. This is done by
slackening the four wing nuts on the fence rail (Fig. 8.6, B)
and adjusting the rails position until the fence is parallel
to the blade.
Note:
This adjustment must be made with the fence in a
clamped position
Fig. 8.6
A
B
Fence Alignment 2
Check that the fence (Fig. 8.7, A) is 90º to the table
(Fig. 8.7, B) using a suitable square, there is no need for
adjustment as this area is factory set. However if settings
have slipped during transit slight adjustment may be
needed. The best way to adjust this is by adding extra
washers or shims between the fence rail (Fig. 8.7, D) and
the underside of the table where required.
Tip:
When an accurate cut is crucial it is good practice to
check all settings before machining the workpiece
and make a test cut with some scrap material.
Fig. 8.7
A B
D
C
i
Kg
i
Kg
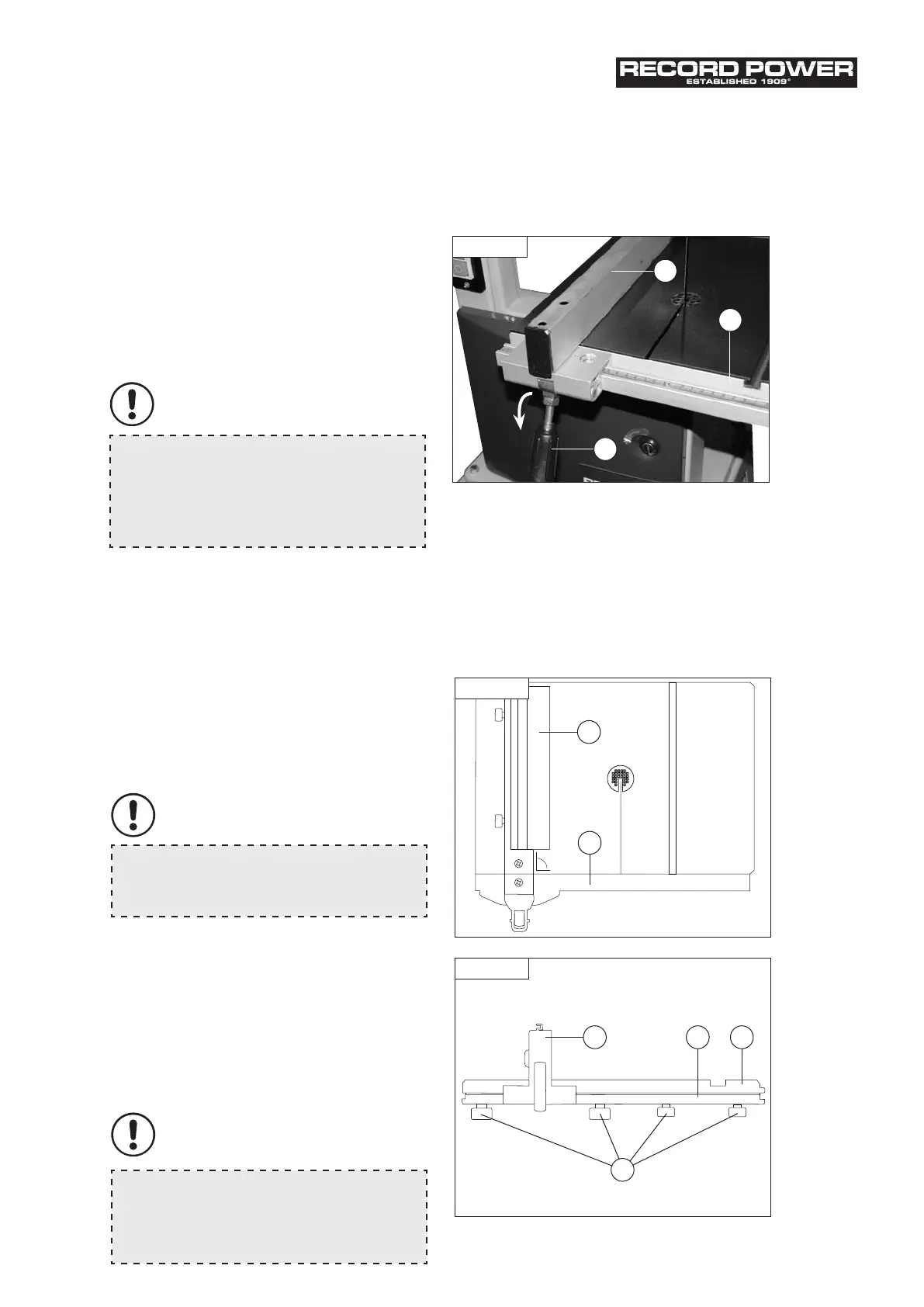
Fitting the Rip Fence
1. Slide the rip fence (Fig. 8.5, A) assembly onto the fence
rail (Fig. 8.5, B) ensuring that the retaining plate at the
end of the rip fence is located under the rear edge of
the table.
2. Pull down the locking lever (Fig. 8.5, C) to secure
the position.
Checking the Drive Belt Tension
The tension of the drive belt must also be checked before
operation of the machine. Please see the maintenance
section of the manual for further details.
Tip:
When locking the rip fence it is advisable to place
downward pressure on the top of the fence with one
hand. This ensures that the fence registers correctly in
the fence rail.
i
Kg
Fig. 8.5
A
B
C

Related product manuals