EasyManua.ls Logo

Record Power BS300 - Page 31

Record Power BS300
35 pages
Print Icon
To Next Page IconTo Next Page
To Next Page IconTo Next Page
To Previous Page IconTo Previous Page
To Previous Page IconTo Previous Page
Loading...
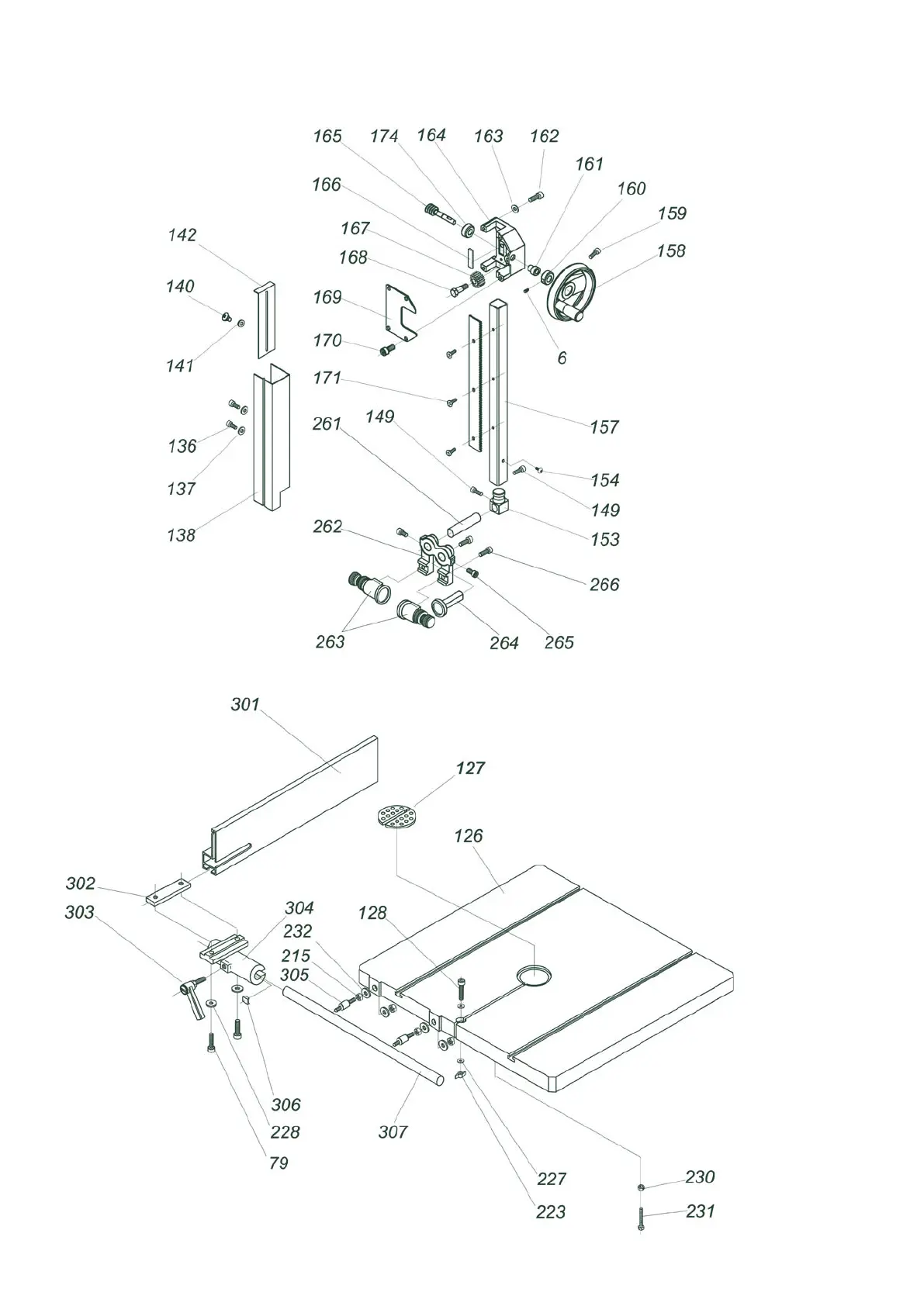
12. Parts Diagrams - cont.

Related product manuals