EasyManua.ls Logo

Renesas RL78/G1D - Page 24

Renesas RL78/G1D
59 pages
To Next Page IconTo Next Page
To Next Page IconTo Next Page
To Previous Page IconTo Previous Page
To Previous Page IconTo Previous Page
Loading...
E1/E20/E2/E2 Lite Additional Document 2. Designing the User System
R20UT1994EJ0910 Rev.9.10 Page 24 of 59
Oct.06.23
8
VSS
VDD
9
2,12,14
1,3,7,11
5 TOOL0
TOOL0
EMVDD
VDD
VSS
R.F.U
6
10,13
RESET_IN
RESET_OUT
RESET#
4
RSTPU
EVDD
VDD
EVDD
EVDD
470 to 510
1 k
1 k
Note 1
Note 2
14-pin
2.54-mm pitch
connector
Note 3
Note 3
Note 4
Reset circuit
Note 5
Note 3 Note 6
MCU
Note 3
Note 7
Note 7
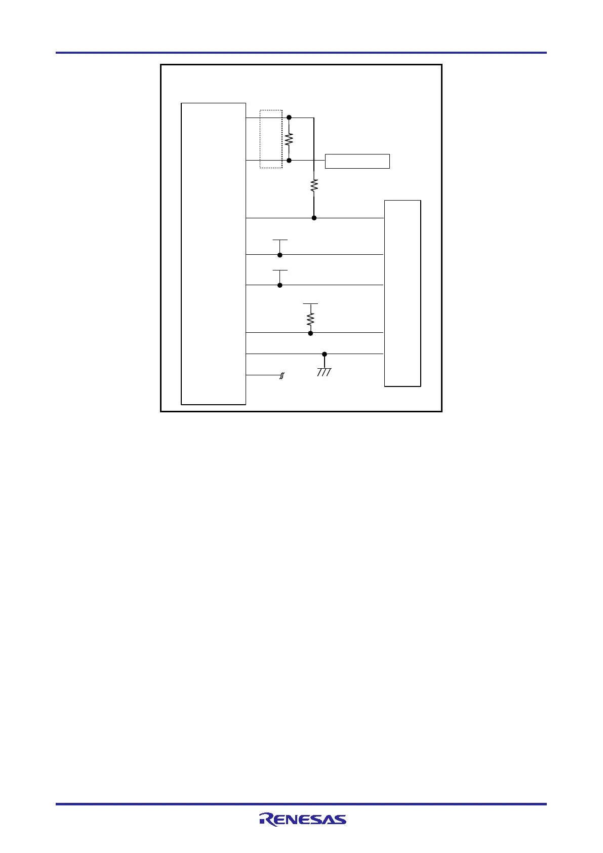
Figure 2-8 Example of Connection when the Battery Backup Function of the RL78/I1C is not in Use
Notes:
1
The circuits and resistance values listed are recommended but not guaranteed. Determine the
circuit design and resistance values by taking into account the specifications of the target
device and noise. For flash programming for mass production, perform sufficient evaluation
about whether the specifications of the target device are satisfied.
2
For processing of pins not used by the E1/E20/E2/E2 Lite, refer to the hardware manual for the
device.
3
The recommended circuit for the RESET# pin differs depending on whether the multiplexed
functions are used. For details on how to handle the RESET# pin, also refer to section 2.5,
Notes on Connection.
4
The RESET_IN and RSTPU pins are used only in debugging. The emulator operates for flash
programming by the programming software whether this pin is connected or not.
5
Securely connect pins 2, 12, and 14 of the connection to GND of the user system. These pins
are used for electrical grounding as well as for monitoring of connection with the user system
by the E1/E20/E2/E2 Lite.
6
Securely connect both pin 10 and pin 13.
7
Depending on the number of pins of the target MCU, VDD and EVDD may be the same pin. In
such cases, connect both VDD and EMVDD of the 14-pin connector to the power pin of the
target MCU.

Table of Contents

Other manuals for Renesas RL78/G1D

Related product manuals