EasyManua.ls Logo

Riello 40 G3 - Raccordements Electriques

Riello 40 G3
Print Icon
To Next Page IconTo Next Page
To Next Page IconTo Next Page
To Previous Page IconTo Previous Page
To Previous Page IconTo Previous Page
Loading...
2664
5
F
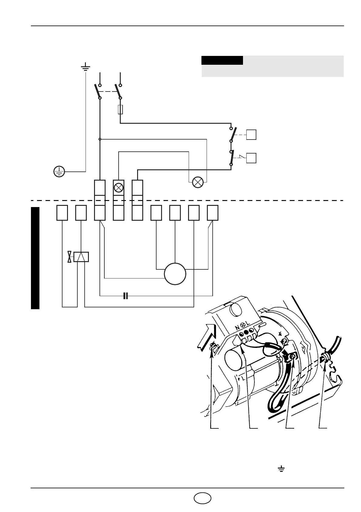
RACCORDEMENTS ELECTRIQUES
S7026
A321
Marron
Blanc (50V)
Bleu
Moteur
Condensateur
Thermostat de limite
Neutre
T6A
N L
M
~
Noir
NOTES:
Section conducteurs: min. 1 mm
2
.
(Sauf des indications différentes prévues par les
normes et les lois locales).
Les branchements électriques exécutés par
l’installateur doivent respecter le règlement en
vigueur dans le Pays.
Pour enlever la boîte de contrôle du brû-
leur, desserrer la vis (A) (voir figure ci-
contre) et tirer dans le sens de la flèche.
Le capteur flamme est monté directement sur
la boîte de contrôle (au-dessous du transfor-
mateur d’allumage) sur un support à embro-
chage rapide.
CONTROLE
Vérifier l’arrêt du brûleur en ouvrant les circuits
des thermostats.
230V ~ 50Hz
NL
123456789
Bleu
Marron
Vanne
T
T
TRAJET DU CABLE ELECTRIQUE
1 - Passe-câble N - Neutre
2 - Blocage-câbles L - Phase
3 - Bornier - Terre-brûleur
D5228
Noir
ATTENTION
Ne pas inverser le neutre avec la phase.
Thermostat de sécurité
Signalisation de sécurité
à distance (230V - 0,5A max.)
Bornier de la boîte
de contrôle
530SE
*
EXECUTEE EN USINE
Interrupteur général

Related product manuals