EasyManua.ls Logo

Riello 40 G3 - Collegamenti Elettrici

Riello 40 G3
Print Icon
To Next Page IconTo Next Page
To Next Page IconTo Next Page
To Previous Page IconTo Previous Page
To Previous Page IconTo Previous Page
Loading...
2664
5
I
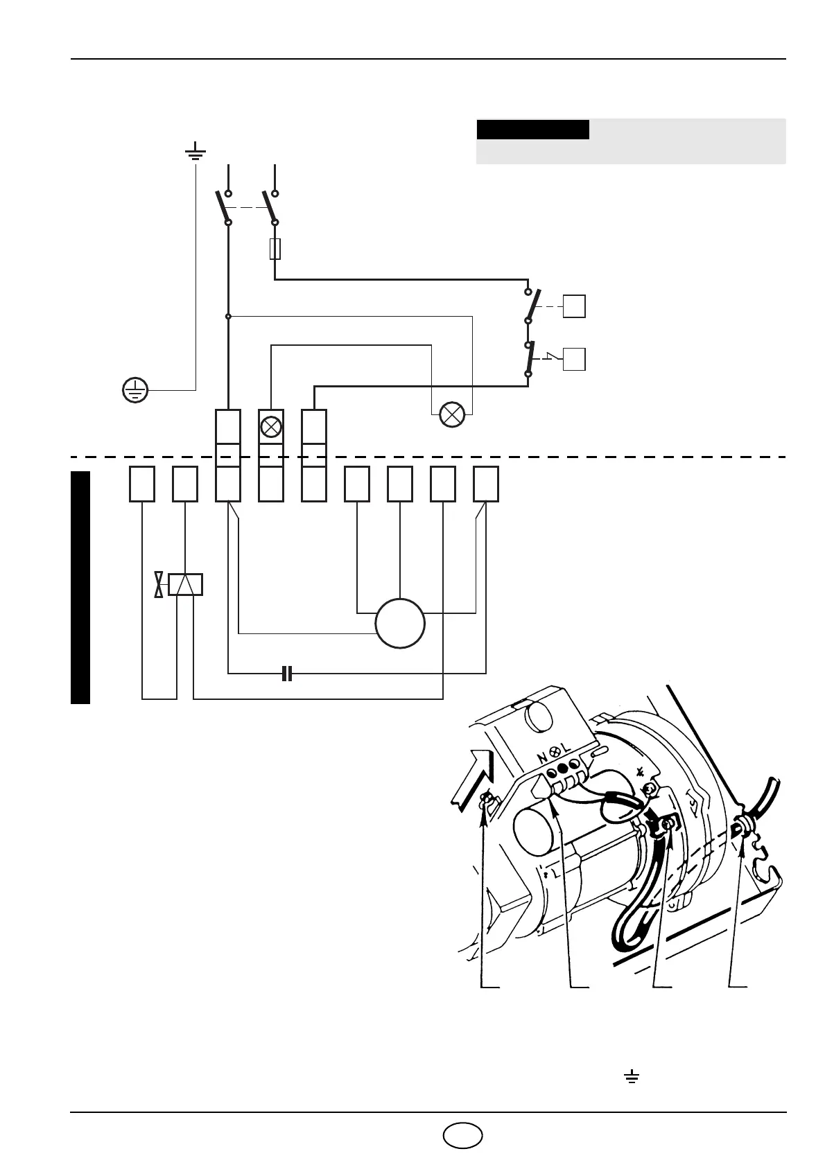
COLLEGAMENTI ELETTRICI
S7026
A321
Marrone
Bianco (50V)
Blu
Motore
Condensatore
Termostato di limite
Neutro
T6A
N L
M
~
Nero
NOTE:
Sezione dei conduttori: min. 1 mm
2
.
(Salvo diverse indicazioni di norme e leggi
locali).
I collegamenti elettrici eseguiti dall’installatore
devono rispettare le norme vigenti nel paese.
Per togliere l’apparecchiatura dal brucia-
tore; allentare la vite (A) (vedi figura) e
tirare nel senso della freccia.
Il sensore fiamma è montata direttamente
nell’apparecchiatura (sotto il trasformatore di
accensione) su un supporto ad innesto rapido.
COLLAUDO
Verificare l’arresto del bruciatore aprendo i
termostati.
ESEGUITO IN FABBRICA
230V ~ 50Hz
NL
123456789
Blu
Marrone
Valvola
T
T
PERCORSO DEL CAVO ELETTRICO
1 - Passacavo N - Neutro
2 - Fissacavo L - Fase
3 - Morsettiera - Terra bruciatore
D5228
Nero
ATTENZIONE
Non scambiare il neutro con la fase.
Termostato di sicurezza
Segnalazione di blocco a distanza
(230V - 0,5A max.)
Morsettiera
apparecchiatura
530SE
*
Interruttore generale

Related product manuals