EasyManua.ls Logo

Robin RGX3500 - Page 82

Robin RGX3500
94 pages
Print Icon
To Next Page IconTo Next Page
To Next Page IconTo Next Page
To Previous Page IconTo Previous Page
To Previous Page IconTo Previous Page
Loading...
l
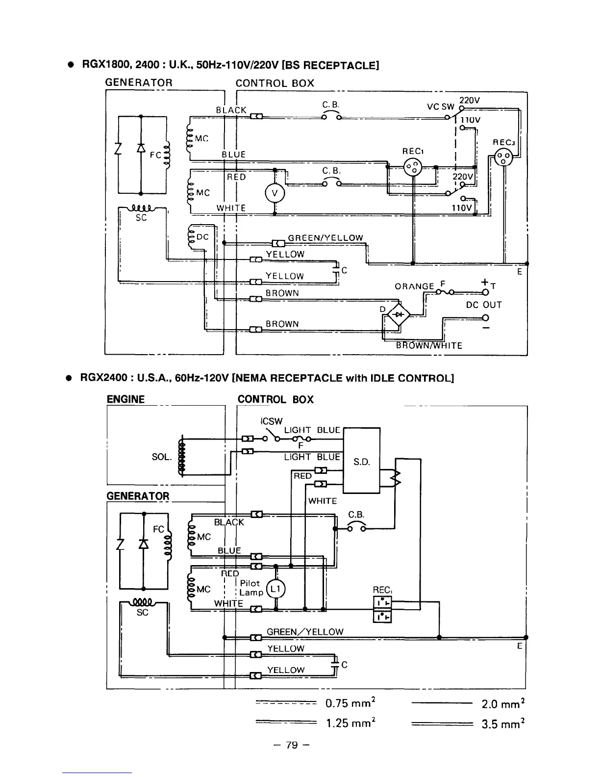
RGXl800,2400 : U.K., 50Hz-1 lOV/22OV [BS RECEPTACLE]
GENERATOR
CONTROL BOX
--1 1
--
--
I I
BLACK
C. B.
I
YELLOW
--
4
I
I c-----
BROWN
I
I
---0
BROWN
l
RGX2400 : U.S.A., 60Hz-120V [NEMA RECEPTACLE with IDLE CONTROL]
ENGINE
CONTROL BOX
r---1 I--
--/
GREEN/YELLOW
0
-- --
i---i
2.0
mm2
-___
1.25
mm2
3.5
mm2
- 79 -

Related product manuals