EasyManua.ls Logo

Robin RGX3500 - Page 90

Robin RGX3500
94 pages
Print Icon
To Next Page IconTo Next Page
To Next Page IconTo Next Page
To Previous Page IconTo Previous Page
To Previous Page IconTo Previous Page
Loading...
l
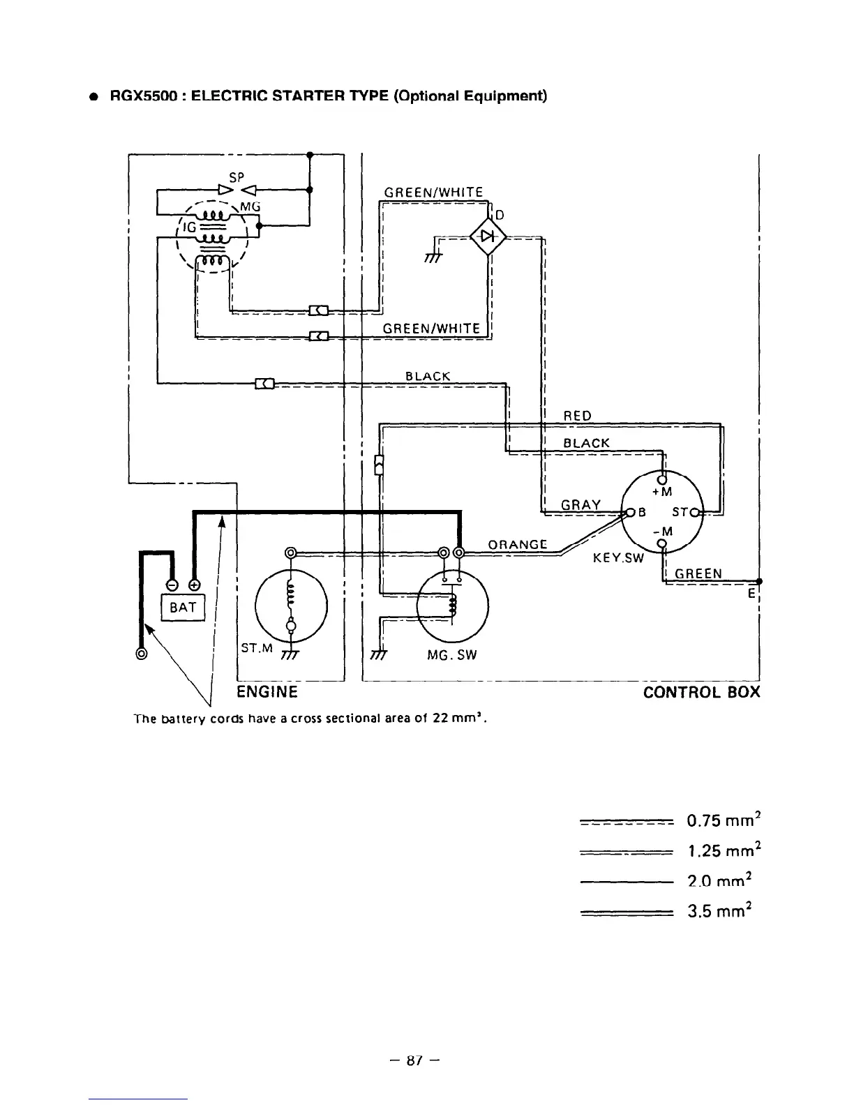
RGX5500 : ELECTRIC STARTER TYPE (Optional Equipment)
SP
GREEN/WHITE
I
I
m
BLACK
I
ENGINE
The battery cords have a cross sectional area of 22 mm’.
---------
0.75
mm2
--~
1.25
mm’
2.0
mm2
3.5
mm2
- 87 -

Related product manuals