EasyManua.ls Logo

Robin RGX3500 - Page 91

Robin RGX3500
94 pages
Print Icon
To Next Page IconTo Next Page
To Next Page IconTo Next Page
To Previous Page IconTo Previous Page
To Previous Page IconTo Previous Page
Loading...
l
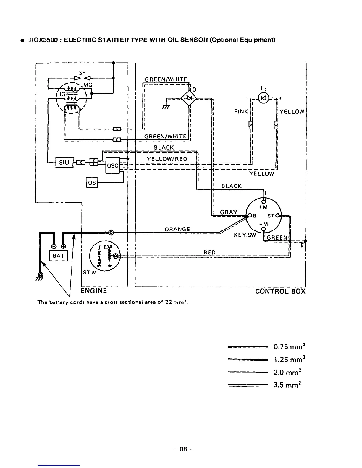
RGX3500 : ELECTRIC STARTER TYPE WITH OIL SENSOR (Optional Equipment)
I I
I I
+
GREEN/WHITE
r--
_----
I
I
i
I
I
I
I
I
I
SJ
I
I
GREEN/WHITE;
I
I
----------
I
I
BLACK
I
i
----------
I
I
YELLOW/RED II Ii
___------- --
-----
-!
I’ I’
----------
‘I
---- -_______
I
,I .
YELLOW
Ji i
I! t;
BLACK
ORANGE
L-
--
/
C?INTR~L lox
The battery cords have a cross sectional area of 22 mm’.
--e-m----
0.75
mm2
---
1.25 mm2
2.0
mm2
3.5
mm2
- 88 -

Related product manuals