EasyManua.ls Logo

Robuschi KRVS - Sostituzione Della Valvola Automatica DI Scarico; Manutenzione del Motore Elettrico; Trasferimento Della KRVS; Trasferimento Nel Sito

Robuschi KRVS
Print Icon
To Next Page IconTo Next Page
To Next Page IconTo Next Page
To Previous Page IconTo Previous Page
To Previous Page IconTo Previous Page
Loading...
20
Per eseguire questa operazione, rimuovere il premitreccia e gli anelli baderna usurati e montare nuovi anelli con le giunzioni sfalsate di
90° rispettando la disposizione di 3 anelli verso la parte interna della pompa e 2 anelli verso la parte esterna rispetto alla lanterna
intermedia.
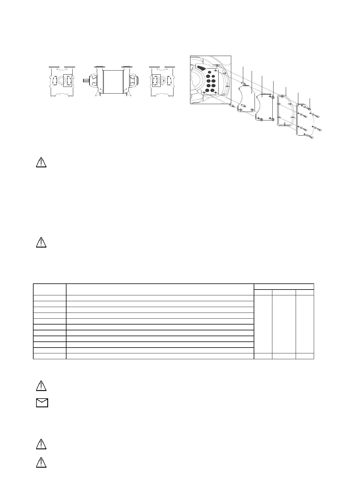
6.5 Sostituzione della valvola automatica di scarico
Per le grandezze 30, 40 e 60 sostituire la valvola automatica di scarico 60 smontando i portelli ispezione 16 presenti sui corpi della pompa
nella posizione indicata in fig.14.
6.6 Manutenzione del motore elettrico
Attenzione : Non è consentito lo smontaggio del motore elettrico, in caso di manutenzione contattare
ROBUSCHI od il costruttore del motore elettrico
6.7 Trasferimento della KRVS
6.7.1 Trasferimento nel sito
Preparare la KRVS come descritto al paragrafo 6
Smontare la KRVS dall’impianto
Trasportare la KRVS nella nuova collocazione seguendo le istruzioni del paragrafo 3
Installare la KRVS seguendo le istruzione del paragrafo 4
6.7.2 Trasferimento ad altro sito
Preparare la KRVS come descritto al paragrafo 6
Smontare la KRVS dall’impianto
Attenzione: Contattare ROBUSCHI per le istruzioni di trasporto relative
Installare la KRVS seguendo le istruzioni del paragrafo 4
6.8 Ricambi
Con riferimento ai disegni di sezione delle pompe elenchiamo di seguito i ricambi suggeriti per far fronte ad eventuali emergenze.
Pos. Descrizione - Description
Anni
-
Years
2
5
10
41 A/P Tenuta meccanica – Mechanical seal (set)
1 2 4
60 A/B Valvola – Valve (set)
31-32 Cuscinetto – Bearing (set)
15 O-ring (set)
51 O-ring (set)
47 O-ring
64 Anello di compensazione – Compensating ring (set)
21 Camicia protezione - Shaft sleeve (set)
50 Guarnizioni - Gasket
44-44A Anelli di tenuta Seal ring (set)
42 Anelli baderna Soft packing (set) 2 4 8
Per ordinare i particolari di ricambio citare sempre i riferimenti della KRVS : tipo, numero di serie e anno di costruzione (che sono indicati
nella pagina di copertina) e la posizione indicata nella tabella .
Attenzione : Non è consentito l’uso di ricambi ed accessori non originali
Nota
: Non è consentito l’uso di ricambi ed accessori non originali. ROBUSCHI non sarà responsabile
di inconvenienti, rotture e incidenti dovuti all’impiego di ricambi o accessori non-originali
6.9 Demolizione della KRVS
Nel caso di demolizione verificare leventuale presenza di sostanze esplosive, tossiche o pericolose all’interno o all’esterno della KRVS e
provvedere al loro smaltimento in ottemperanza delle disposizioni vigenti sul luogo di installazione.
Attenzione : Trasferire la KRVS in zona sicura prima di iniziare le operazioni di smantellamento
Attenzione : Smaltire i liquidi esausti in ottemperanza alle vigenti prescrizioni
locali
62
60
60A
207
50
16
404
Fig.14

Table of Contents