EasyManua.ls Logo

Robuschi KRVS - Electric Motor Maintenance; Transferring KRVS; Transferring in the Site; Transferring in an Other Site

Robuschi KRVS
Print Icon
To Next Page IconTo Next Page
To Next Page IconTo Next Page
To Previous Page IconTo Previous Page
To Previous Page IconTo Previous Page
Loading...
36
6.6 Electric motor maintenance
Warning : It is not allowed the electric motor dismantling, in case of
maintenance contact ROBUSCHI
or the electric motor manufacturer
6.7 Transferring KRVS
6.7.1 Transferring in the site
Prepare KRVS as described in the paragraph 6
Strip down KRVS from the plant
Transport KRVS in the new site following the instruction of paragraph 3
Install KRVS following the instructions of the paragraph 4
6.7.2 Transferring in an other site
Prepare KRVS as described in the paragraph 6
Strip down KRVS from the plant
Warning : Contact ROBUSCHI for the relevant transport instructions
Install KRVS following the instructions of the paragraph 4
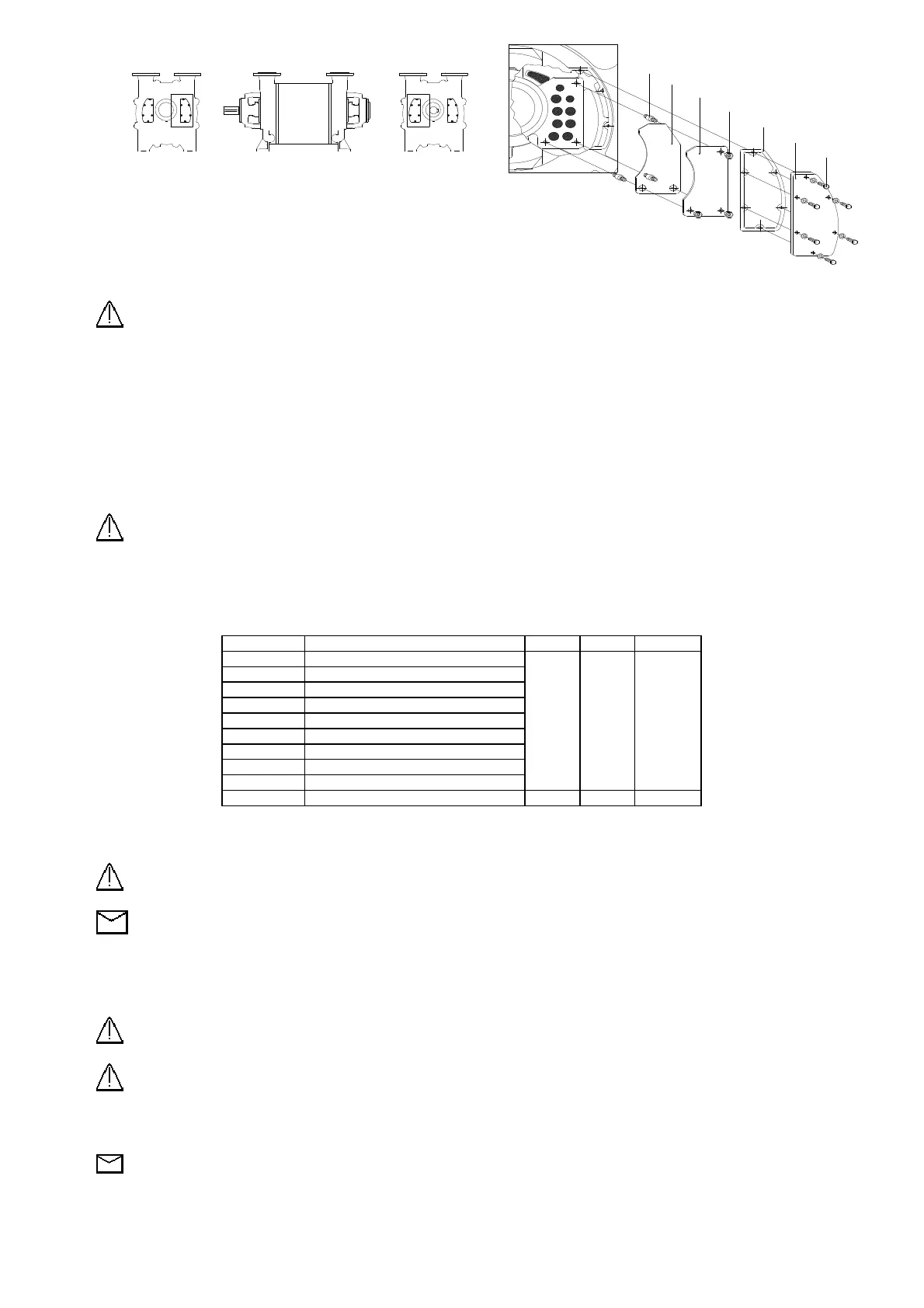
6.8 Spare parts
Referring to the sectional drawings, in the table below are indicated the recommended spare parts for normal use according forecast
timing
Pos.
Descrizione
2 Anni
5 Anni
10 Anni
41 A/P Mechanical seal (set)
60 A/B Automatic discharge valve (set)
31-32 Bearing (set)
15 O-ring (set)
51 O-ring (set) 1 2 4
47 O-ring
21 Shaft sleeve (set)
50 Gasket
44-44A Seal ring (set)
42 Soft packing gland (set) 2 4 8
In case of order please quoting always Type, serial number and year of construction of KRVS (these elements are indicated in front page
of this manual) and relevant position of spare part indicated in the table above.
Warning : Do not use
non
-
original spare parts or accessories
Note : ROBUSCHI will not be liable for any damage, breakdown, injury deriving from the use of non
-
original spare parts or accessories
6.9 Demolition of KRVS
In case of demolition of KRVS verify the eventual presence of explosive, toxic or dangerous substances and dispose them in accordance
with local regulations.
Warning : Transfer KRVS in a safe zone before any operation of demolition
Warning : Dispose the residual of internal liquids in accordance
with local regulations
Demolish the pump in such a way to make impossible to use again the pump as complete unit, or to use again one or several parts of the
pump.
Note : Destroy the name
-
plate of the pump and any other document
62
60
60A
207
50
16
404
Fig.14

Table of Contents