EasyManua.ls Logo

Roca DFK-75 AG - Page 29

Roca DFK-75 AG
Print Icon
To Next Page IconTo Next Page
To Next Page IconTo Next Page
To Previous Page IconTo Previous Page
To Previous Page IconTo Previous Page
Loading...
29
F
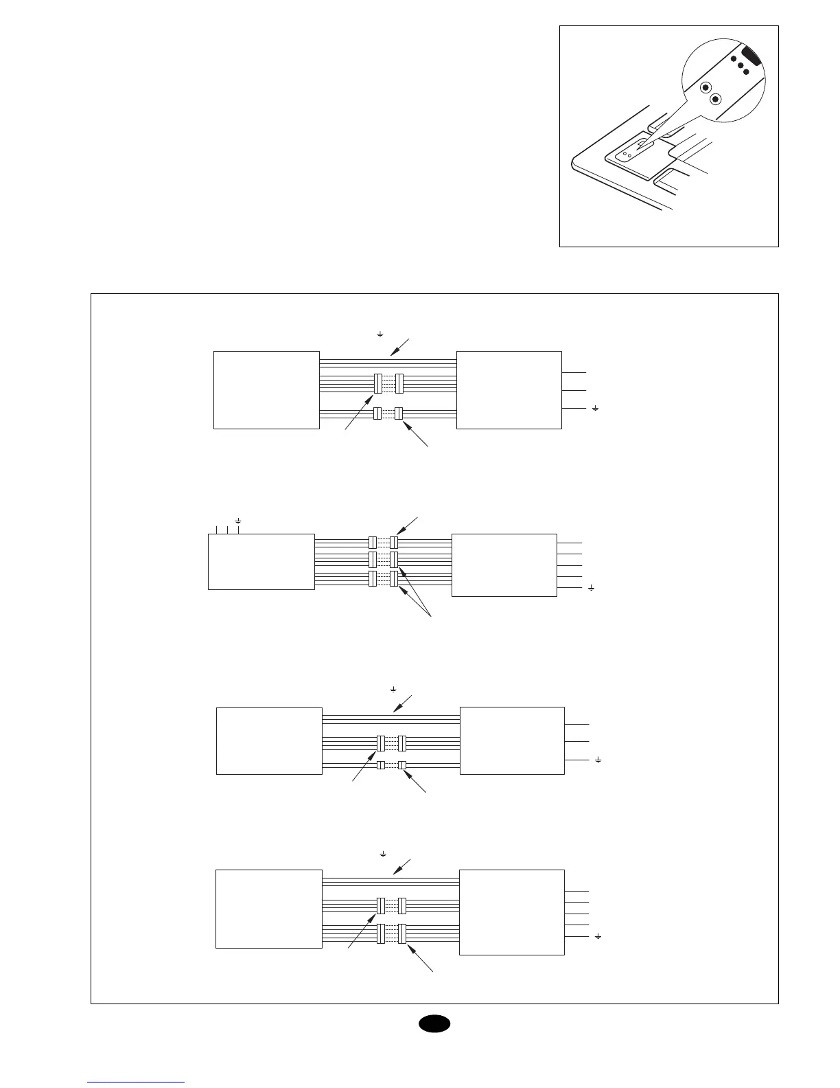
Fig. 19
Routine de test et derniè-
res vérifications post-ins-
tallation
Opération de test (Fig. 19)
1. Avant le test
1) Ne pas brancher l’appareil avant sa
complète installation.
2) La connexion électrique doit être cor-
recte et sûre.
3) Les vannes doivent être ouvertes.
4) L’appareil ne doit contenir aucune im-
pureté.
2. Méthode de l’opération de test
1) Brancher l’appareil et appuyer sur le
poussoir ON/OFF de la commande à
Connections électriques
Réversible
Froid seul
ALIMENTATION ÉLECTRIQUE 3 FILS
(L,N, ) 230V/1Ph/50Hz (FOURNI)
DBK 75 AG DBO 75 AG
N
L1
UNITÉ INTÉRIEURE
CONNECTEUR MANOEUVRE
5 FILS FOURNI
CONNECTEUR MANOEUVRE
3 FILS FOURNI
UNITÉ EXTÉRIEURE
3 FILS
230V/1Ph/50Hz
ALIMENTATION
ÉLECTRIQUE
230V/1Ph/50Hz
NL
N
L1
L3
L2
UNITÉ INTÉRIEURE
CONNECTEUR MANOEUVRE
3 FILS FOURNI
CONNECTEUR MANOEUVRE
4 FILS FOURNI
UNITÉ EXTÉRIEURE
5 FILS
400V/3Ph/50Hz
DBK 100 AG
DBK 120 AG
DBO 100 AG
DBO 120 AG
DFK 75 AG DFO 75 AG
UNITÉ INTÉRIEURE
CONNECTEUR MANOEUVRE
4 FILS FOURNI
CONNECTEUR MANOEUVRE
2 FILS FOURNI
UNITÉ EXTÉRIEURE
N
L1
3 FILS
230V/1Ph/50Hz
ALIMENTATION ÉLECTRIQUE 3 FILS
(L,N, ) 230V/1Ph/50Hz (FOURNI)
N
L1
L3
L2
UNITÉ INTÉRIEURE
CONNECTEUR MANOEUVRE
4 FILS FOURNI
CONNECTEUR MANOEUVRE
5 FILS FOURNI
UNITÉ EXTÉRIEURE
5 FILS
400V/3Ph/50Hz
DBK 100 AG
DBK 120 AG
DBO 100 AG
DBO 120 AG
ALIMENTATION ÉLECTRIQUE 3 FILS
(L,N, ) 230V/1Ph/50Hz (FOURNI)
distance.
2) Appuyer sur le poussoir MODE pour
vérifier si les trois modes forcés fonc-
tionnent correctement: FROID,
CHAUD, DÉSHYDRATATION
3. Opération de secours
Si l’on ne peut pas utiliser la commande
à distance, opérer de la façon suivante:
- L’unité étant arrêté, appuyer sur
AUTO pour l’activer. L’unité fonction-
nera au mode correspondant.
- Avec l’unité en marche, appuyer sur
AUTO pour l’arrêter.
Note: Le mode TEST ne s’utilise que pour
effectuer des essais. Ne pas l’utiliser comme
mode de fonctionnement normal.

Related product manuals