EasyManua.ls Logo

Roca DFK-75 AG - Collegamenti Elettrici

Roca DFK-75 AG
Print Icon
To Next Page IconTo Next Page
To Next Page IconTo Next Page
To Previous Page IconTo Previous Page
To Previous Page IconTo Previous Page
Loading...
45
I
Fig. 19
Routine di prova e test
una volta ultimata l’instal-
lazione
Realizzazione del test (Fig. 19)
1. Prima di realizzare il test.
(1)Non collegare l’unità alla rete elettri-
ca finché non ne sia stata ultimata
l’installazione.
(2)Il collegamento elettrico deve essere
effettuato in modo adeguato e sicuro.
(3)Le valvole devono essere aperte.
(4)L’unità deve essere priva di impurità.
2. Realizzazione del test.
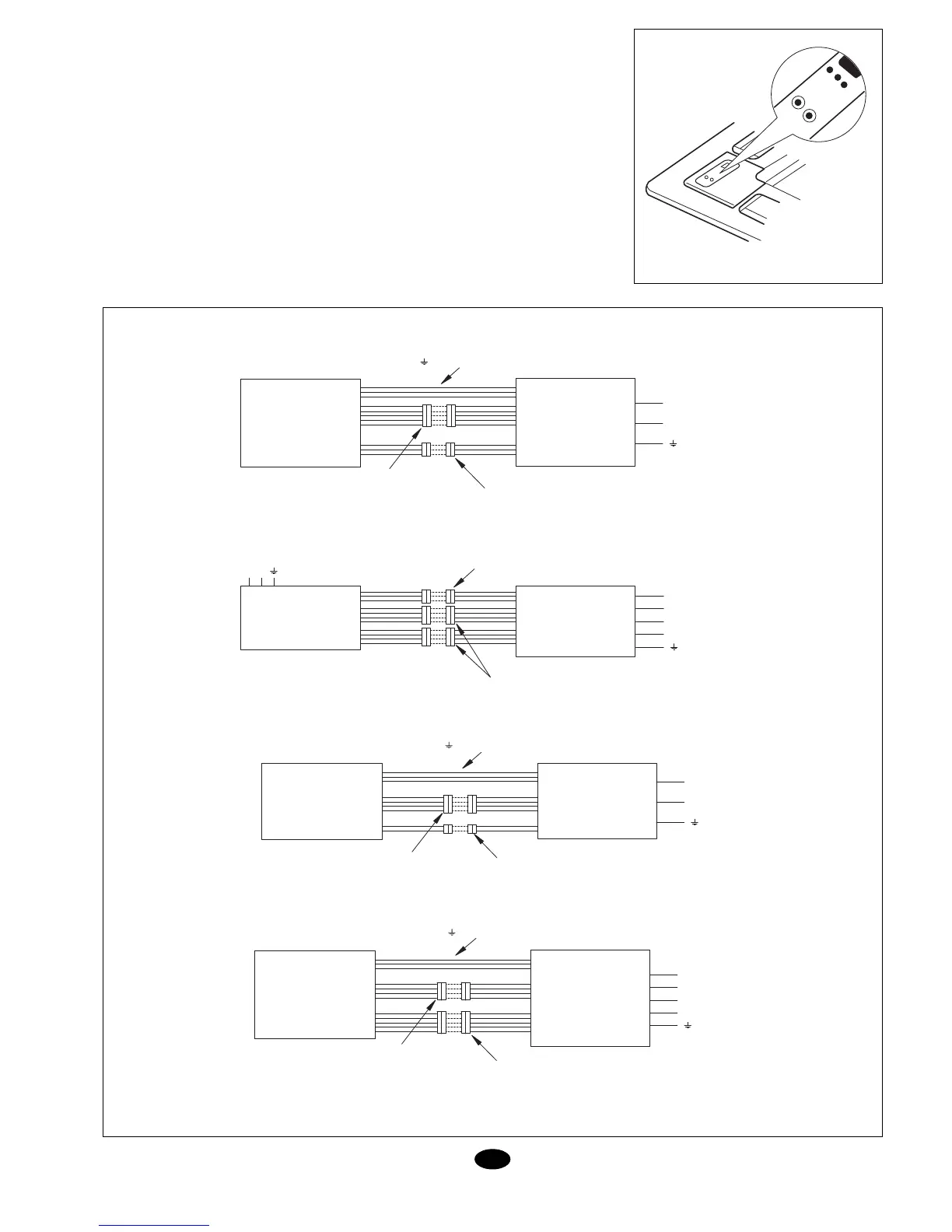
Collegamenti elettrici
Pompe di calore
Solo freddo
ALIMENTAZIONE ELETTRICHE 3 FILI
(L,N, ) 230V/1Ph/50Hz (FORNITO)
DBK 75 AG DBO 75 AG
N
L1
UNITÀ INTERNA
CONETTORE CIRCUITO
AUSILIARE 5 FILI (FORNITO)
CONETTORE CIRCUITO
AUSILIARE 3 FILI (FORNITO)
UNITÀ ESTERNA
3 FILI
230V/1Ph/50Hz
ALIMENTAZIONE
ELETTRICHE
230V/1Ph/50Hz
NL
N
L1
L3
L2
UNITÀ INTERNA
CONETTORE CIRCUITO
AUSILIARE 3 FILI (FORNITO)
CONETTORE CIRCUITO
AUSILIARE 4 FILI (FORNITO)
UNITÀ ESTERNA
5 FILI
400V/3Ph/50Hz
DBK 100 AG
DBK 120 AG
DBO 100 AG
DBO 120 AG
ALIMENTAZIONE ELETTRICHE 3 FILI
(L,N, ) 230V/1Ph/50Hz (FORNITO)
DFK 75 AG DFO 75 AG
UNITÀ INTERNA
CONETTORE CIRCUITO
AUSILIARE 4 FILI (FORNITO)
CONETTORE CIRCUITO
AUSILIARE 2 FILI (FORNITO)
UNITÀ ESTERNA
N
L1
3 FILI
230V/1Ph/50Hz
ALIMENTAZIONE ELETTRICHE 3 FILI
(L,N, ) 230V/1Ph/50Hz (FORNITO)
N
L1
L3
L2
UNITÀ INTERNA
CONETTORE CIRCUITO
AUSILIARE 4 FILI (FORNITO)
CONETTORE CIRCUITO
AUSILIARE 5 FILI (FORNITO)
UNITÀ ESTERNA
5 FILI
400V/3Ph/50Hz
DBK 100 AG
DBK 120 AG
DBO 100 AG
DBO 120 AG
(1)Collegare l’unità e premere il pulsan-
te ON/OFF del telecomando.
(2)Premere il tasto MODE per control-
lare i tre modi di funzionamento: RAF-
FREDDAMENTO, RISCALDAMEN-
TO, DEUMIDIFICAZIONE.
3. Funzionamento d’emergenza.
Quando non si può utilizzare il teleco-
mando, procedere come segue:
- Con l’apparecchio spento premere il
tasto AUTO per accenderlo. L’unità
funzionerà nel modo impostato.
- Con l’apparecchio in funzionamento,
premere il tasto AUTO per spegnerlo.
Nota: Il modo TEST serve solo per realiz-
zare prove di funzionamento. Non utilizzarlo
come modo di funzionamento normale.

Related product manuals