EasyManua.ls Logo

Roca DFK-75 AG - Page 37

Roca DFK-75 AG
Print Icon
To Next Page IconTo Next Page
To Next Page IconTo Next Page
To Previous Page IconTo Previous Page
To Previous Page IconTo Previous Page
Loading...
37
P
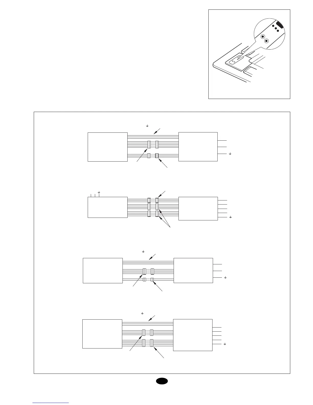
Fig. 19
Rotina de teste e verifica-
ção pós-instalação
Operação de teste (Fig. 19)
1. Antes do teste:
(1)Não ligue o equipamento até que ele
se encontre completamente instala-
do.
(2)A ligação eléctrica tem de ser cor-
recta e segura.
(3)As válvulas devem encontrar-se
abertas.
(4)O equipamento tem de encontrar-se
isento de impurezas.
2. Método da operação de teste.
(1)Ligue o equipamento e prima o botão
ON/OFF do comando à distância.
Ligações eléctricas
Bomba de calor
Só frio
DBK 75 AG DBO 75 AG
N
L1
UNIDADE INTERIOR
CONECTOR DE MANOBRA
DE 5 FIOS FORNECIDO
CONECTOR DE MANOBRA
DE 3 FIOS FORNECIDO
UNIDADE EXTERIOR
3 FIOS
230V/1Ph/50Hz
ALIMENTAÇÃO ELÉCTRICA 3 FIOS
(L,N, ) 230V/1Ph/50Hz (FORNECIDO)
ALIMENTAÇÃO
ELÉCTRICA
230V/1Ph/50Hz
NL
N
L1
L3
L2
UNIDADE INTERIOR
CONECTOR DE MANOBRA
DE 3 FIOS FORNECIDO
CONECTOR DE MANOBRA
DE 4 FIOS FORNECIDO
UNIDADE EXTERIOR
5 FIOS
400V/3Ph/50Hz
DBK 100 AG
DBK 120 AG
DBO 100 AG
DBO 120 AG
ALIMENTAÇÃO ELÉCTRICA 3 FIOS
(L,N, ) 230V/1Ph/50Hz (FORNECIDO)
DFK 75 AG DFO 75 AG
UNIDADE INTERIOR
CONECTOR DE MANOBRA
DE 4 FIOS FORNECIDO
CONECTOR DE MANOBRA
DE 2 FIOS FORNECIDO
UNIDADE EXTERIOR
N
L1
3 FIOS
230V/1Ph/50Hz
ALIMENTAÇÃO ELÉCTRICA 3 FIOS
(L,N, ) 230V/1Ph/50Hz (FORNECIDO)
N
L1
L3
L2
UNIDADE INTERIOR
CONECTOR DE MANOBRA
DE 4 FIOS FORNECIDO
CONECTOR DE MANOBRA
DE 5 FIOS FORNECIDO
UNIDADE EXTERIOR
5 FIOS
400V/3Ph/50Hz
DBK 100 AG
DBK 120 AG
DBO 100 AG
DBO 120 AG
(2)Prima o botão MODE a fim de verifi-
car que funcionem os três modos for-
çados:
FRIO, CALOR, DESUMIDIFICAÇÃO
3. Método de emergência.
Quando não se puder utilizar o coman-
do à distância, opere da forma seguinte:
* Tendo a máquina parada, prima o
botão AUTO para activá-la. O equi-
pamento funcionará no modo que
corresponder.
* Tendo a máquina em funcionamento,
prima o botão AUTO para desligá-la.
Nota: O modo TEST apenas é para reali-
zar testes. Não deve ser utilizado como
modo de funcionamento normal.

Related product manuals