EasyManua.ls Logo

Roca DFK-75 AG - Page 61

Roca DFK-75 AG
Print Icon
To Next Page IconTo Next Page
To Next Page IconTo Next Page
To Previous Page IconTo Previous Page
To Previous Page IconTo Previous Page
Loading...
61
NL
Fig. 19
Testroutine en inspectie
van de installatie
Testprocedure (Afb. 19)
1. Vóór de test:
(1)Schakel het toestel niet in voordat
het volledig geïnstalleerd is.
(2)De elektrische aansluiting dient cor-
rect en veilig te zijn.
(3)De kleppen moeten open zijn.
(4)Het toestel moet vrij van vuildeeltjes
zijn.
2. Testmethode
(1)Schakel het toestel in en druk op de
ON/OFF toets van de afstandsbedie-
ning.
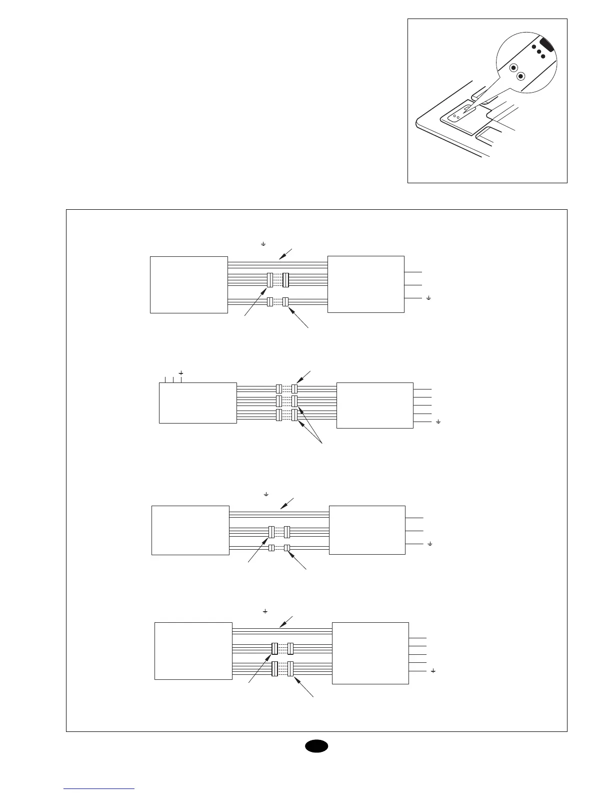
Elektrische aansluitingen
Warmtepompen
Enkel koeling
VOEDINGSSPANNING 3 DRADEN
(L,N, ) 230V/1Ph/50Hz (BIJGELEVERD)
DBK 75 AG DBO 75 AG
N
L1
BINNENUNIT
REGELCONNECTOR MET
5 DRADEN BIJGELEVERD
REGELCONNECTOR MET
3 DRADEN BIJGELEVERD
BUITENUNIT
3 DRADEN
230V/1Ph/50Hz
VOEDINGSSPANNING
230V/1Ph/50Hz
NL
N
L1
L3
L2
BINNENUNIT
REGELCONNECTOR MET
3 DRADEN BIJGELEVERD
REGELCONNECTOR MET
4 DRADEN BIJGELEVERD
BUITENUNIT
5 DRADEN
400V/3Ph/50Hz
DBK 100 AG
DBK 120 AG
DBO 100 AG
DBO 120 AG
VOEDINGSSPANNING 3 DRADEN
(L,N, ) 230V/1Ph/50Hz (BIJGELEVERD)
DFK 75 AG DFO 75 AG
BINNENUNIT
REGELCONNECTOR MET
4 DRADEN BIJGELEVERD
REGELCONNECTOR MET
2 DRADEN BIJGELEVERD
BUITENUNIT
N
L1
3 DRADEN
230V/1Ph/50Hz
VOEDINGSSPANNING 3 DRADEN
(L,N, ) 230V/1Ph/50Hz (BIJGELEVERD)
N
L1
L3
L2
BINNENUNIT
REGELCONNECTOR MET
4 DRADEN BIJGELEVERD
REGELCONNECTOR MET
5 DRADEN BIJGELEVERD
BUITENUNIT
5 DRADEN
400V/3Ph/50Hz
DBK 100 AG
DBK 120 AG
DBO 100 AG
DBO 120 AG
(2)Druk op de MODE toets om te con-
troleren of de drie functies werken:
KOELEN, VERWARMEN, ONT-
VOCHTIGEN.
3. Noodmethode.
Als de afstandbediening niet gebruikt
kan worden, ga dan als volgt te werk:
* Druk met uitgeschakeld toestel op de
toets AUTO om het toestel in te scha-
kelen. Het toestel werkt in de desbe-
treffende functie.
* Druk met ingeschakeld toestel op de
toets AUTO om het toestel uit te scha-
kelen.
Nota: De TEST functie dient uitsluitend ter
controle. Deze functie mag niet als normale
bedrijfsfunctie gebruikt worden.

Related product manuals