EasyManua.ls Logo

RPS Blizzard 150 - Fuel and Oil

RPS Blizzard 150
84 pages
Print Icon
To Next Page IconTo Next Page
To Next Page IconTo Next Page
To Previous Page IconTo Previous Page
To Previous Page IconTo Previous Page
Loading...
6
· Never exceed the stated load capacity for an ATV. Cargo should be properly
distributed and securely attached. Reduce speed and follow instructions in this
manual for carrying cargo. Allow greater distance for braking.
· The combined weight of the rider and any accessories or cargo must never exceed
the vehicle’s load capacity of 220 lbs (100 kg).
· Do not tow a trailer. This vehicle is not designed for such use.
FOR MORE INFORMATION ABOUT ATV SAFETY, call the Consumer Product Safety
Commission at 301-504-7921, or call Ricky Power Sports LLC Hotline at 1-844-250-2199
FUEL AND OIL
FUEL The proper fuel is very important for the engine. Ensure that there is no dust or dirt, or
water which has mixed in the fuel. Please use the regular unleaded gasoline with an octane
of 90 or higher.
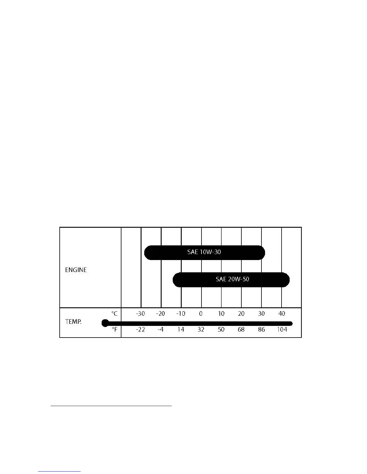
Your 150cc ATV has a four-stroke engine. Please use oil as described in the chart below. By
using the prescribe oil, you will realize the best lubrication for the engine.
Use the chart to select a viscosity rating based on the temperature range in your
area.
CHECKING THE OIL
Check the engine oil level prior to each use.
1. Start the engine and let it idle for a few minutes.
2. Stop the engine and put the vehicle on level ground.