EasyManua.ls Logo

Samsung NH080PHXEA - Page 49

Samsung NH080PHXEA
52 pages
Print Icon
To Next Page IconTo Next Page
To Next Page IconTo Next Page
To Previous Page IconTo Previous Page
To Previous Page IconTo Previous Page
Loading...
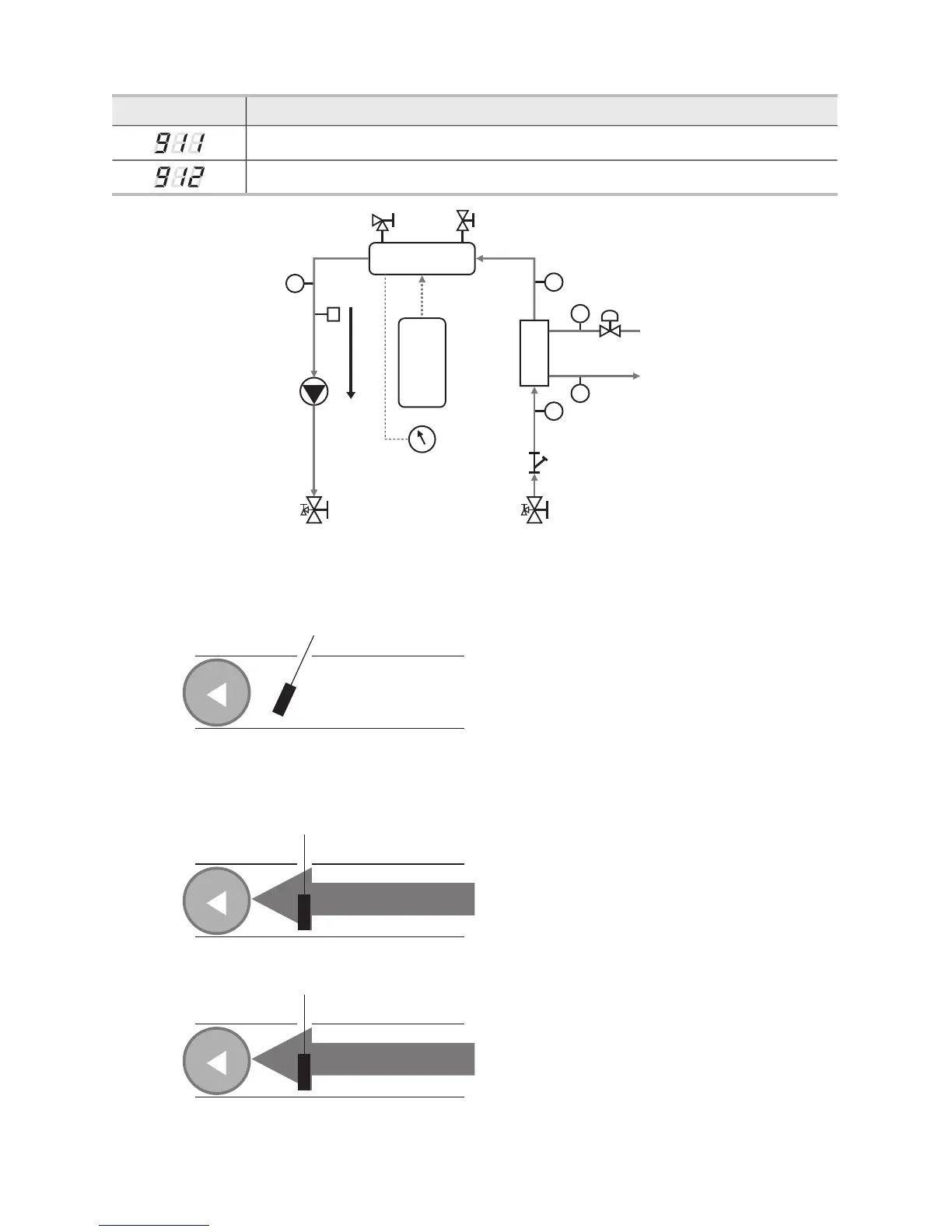
Appendix _49
Water pump & Flow S/W
Display
Explanation
WATER PUMP ERROR
FLOW SWITCH ERROR
Tw3
Tw2
Tw1
Tr2
Tr1
Water Out
Water In
Ref' In
Ref' Out
E911
Water pump OFF ( Flow S/W on )
Water ow(>12LPM)
E912
Water pump ON ( Flow S/W off )
Water ow(>12LPM)
Water pump ON ( Flow S/W off ) : NOT enough water flow

Other manuals for Samsung NH080PHXEA

Related product manuals