EasyManua.ls Logo

Samsung OfficeServ500 - Page 107

Samsung OfficeServ500
132 pages
Print Icon
To Next Page IconTo Next Page
To Next Page IconTo Next Page
To Previous Page IconTo Previous Page
To Previous Page IconTo Previous Page
Loading...
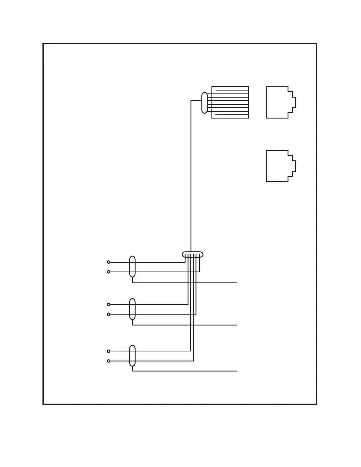
FIGURE 7–3
MISC 1
MISC 2
1
2
3
4
5
6
7
8
8-CONDUCTOR
PLUG
6-CONDUCTOR
PLUG
RELAY
CONTACT
#3
2
7
RELAY
CONTACT
#2
3
6
RELAY
CONTACT
#1
4
5
BROWN / ORANGE PAIR
BLACK / YELLOW PAIR
RED / GREEN PAIR
FIGURE 8-3 MDF CONNECTIONS: COMMON BELL
RST
ON
OFF
TO MISC BOARD
RST
ON
OFF

Table of Contents

Related product manuals