EasyManua.ls Logo

Samsung WALL MOUNTED TYPE - Page 92

Samsung WALL MOUNTED TYPE
139 pages
Print Icon
To Next Page IconTo Next Page
To Next Page IconTo Next Page
To Previous Page IconTo Previous Page
To Previous Page IconTo Previous Page
Loading...
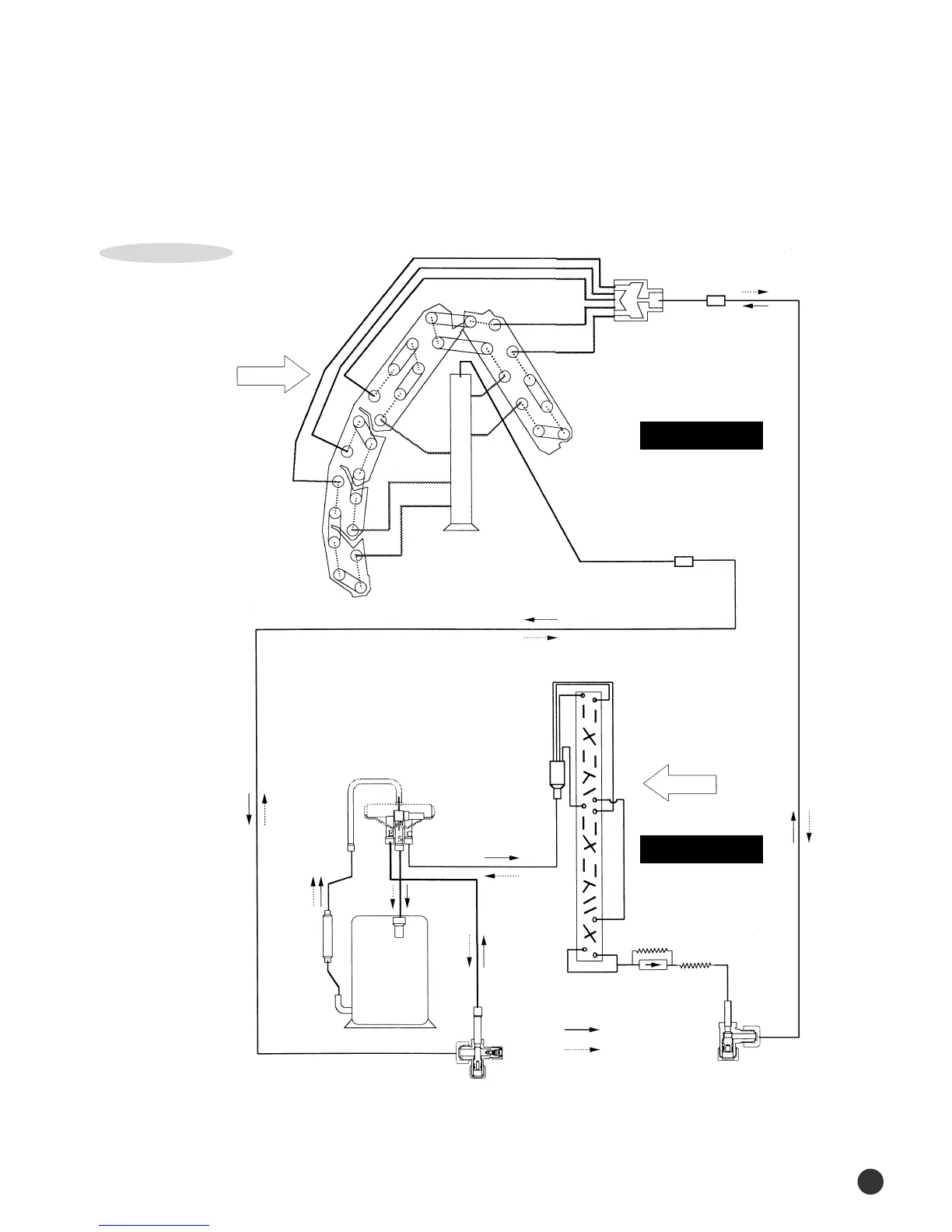
24,000BTU
Indoor Unit
Outdoor Unit
Cooling
Heating
Valve Packed 5/8
Muffler
Valve-4 Way
Valve Packed 1/4
C-Capi
H-Capi
Check-Valve
Air-in
Air-in
1/2
5/8
5/8
5/8
1/4
1/4
1/4
Diagram
92
00150A(2)-54~98 2/5/01 11:54 AM Page 92

Related product manuals