EasyManua.ls Logo

Sandpiper SA2-A 5 - Page 9

Sandpiper SA2-A 5
11 pages
Print Icon
To Next Page IconTo Next Page
To Next Page IconTo Next Page
To Previous Page IconTo Previous Page
To Previous Page IconTo Previous Page
Loading...
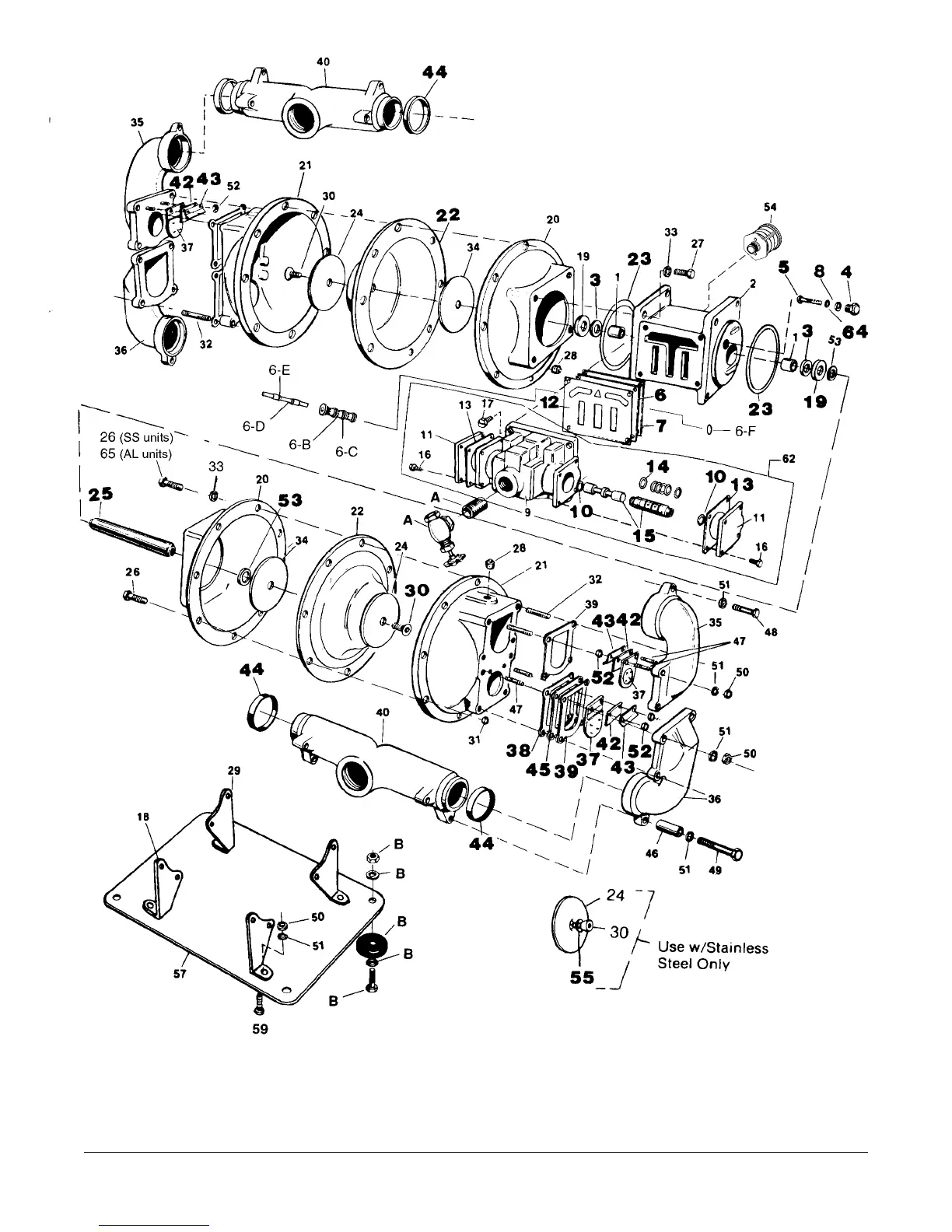
520-010-000 5/03 Model SA2-A Page 9
©2003 Warren Rupp, Inc. All rights reserved.
® Warren Rupp, SandPIPER is a registered tradename of Warren Rupp, Inc.
Printed in U.S.A.
*For units with aluminum wetted end
components only.
A = Available as Kit # 475-102-000
B = Available as Kit # 475-101-000

Related product manuals