EasyManua.ls Logo

Sansui HDLCD1955B - Conexiones de TV Cable

Sansui HDLCD1955B
50 pages
Print Icon
To Next Page IconTo Next Page
To Next Page IconTo Next Page
To Previous Page IconTo Previous Page
To Previous Page IconTo Previous Page
Loading...
12
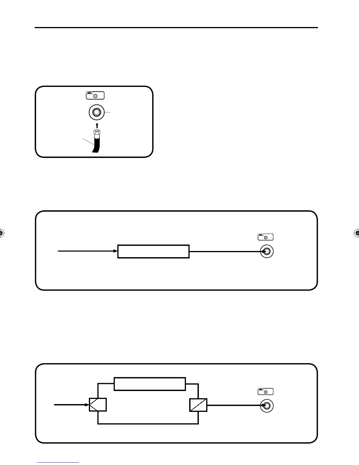
Conexiones de TV cable
Para el servicio básico de cable y cuando no es necesario un
convertidor/caja decodificadora, conecte el cable coaxial de
75 ohmios al jack de la antena en la parte trasera del aparato.
Para abonados al servicio codificado de TV cable
Si usted es abonado a un servicio de TV cable que requiere el uso de un convertidor/caja decodificadora,
conecte el cable coaxial entrante de 75 ohmios al convertidor/caja decodificadora. Utilizando otro cable coaxial
de 75 ohmios conecte el jack de salida del convertidor/caja decodificadora al jack de la antena del aparato. Vea
las conexiones mostradas abajo. Sintonice el aparato al canal de salida del convertidor/caja decodificadora
(generalmente canal 3 ó 4), y utilice el convertidor/caja decodificadora para seleccionar los canales.
Para abonados al servicio de TV cable no codificado con canales premiados
codificados
Si usted está abonado a un servicio de TV cable en el cual los canales básicos no están codificados y los
canales premium requieren el uso de un convertidor/caja decodificadora, puede desear utilizar un divisor de
señales y una caja de conmutación A/B (disponible en las compañías de cable ó en las tiendas de artículos
electrónicos). Vea las conexiones mostradas abajo. Con el conmutador en la posición “B”, usted puede
sintonizar directamente cualquiera de los canales no codificados en su aparato. Con el conmutador en la
posición A”, sintonice su aparato a la salida del convertidor/caja decodificadora (generalmente canal 3 ó 4), y
utilice el convertidor/caja decodificadora para sintonizar los canales codificados.
Divisor
B
A
Entrante
75 ohmios
Cable TV
Cable
Conmutador A/B
Cable de
75 ohmios al TV
Entrante
75 ohmios
Cable TV
Cable
Convertidor/
Decodificador
Toma de
antena
Convertidor/
Decodificador
Este aparato posee amplios límites de sintonización y puede ser sintonizado a la mayoría de los
canales de cable sin utilizar una caja convertidora de TV cable. Algunas de las compañías de TV cable
ofrecen “canales pagados premium” en los cuales la señal ha sido codificada. La decodificación
de estas señales para la recepción normal requiere el uso de un mecanismo decodificador que lo
suministra generalmente la compañía de cable.
Para abonados al servicio básico de TV cable
Cable coaxial
de 75 ohmios
Toma de
antena
Cable de 75 ohmios al TV
Toma de
antena
38L0221A.indb 1238L0221A.indb 12 8/4/09 9:44:27 AM8/4/09 9:44:27 AM

Related product manuals